Книга «Громкоговорители и их применение»
1. ОСНОВНЫЕ АКУСТИЧЕСКИЕ ОПРЕДЕЛЕНИЯ И ЕДИНИЦЫ
Звук — волновой колебательный процесс, происходящий в упругой среде (воздухе, воде и др.) и вызывающий слуховое ощущение.
Звуковое поле — область пространства (объем), в которой распространяются звуковые волны.
Звуковое давление — разность между статическим (атмосферным) давлением и давлением в данной точке звукового поля. Мгновенное звуковое давление — звуковое давление в рассматриваемый момент времени.
Различают максимальное (пиковое) и минимальное звуковое давления, представляющие максимальное и минимальное значения мгновенного звукового давления, а также эффективное (среднеквадратичное) значение звукового давления за полный период. Согласно новой системе единиц СИ-1 за единицу звукового давления принят ньютон на квадратный метр (1 н/м2). Наряду с этой единицей в литературе можно еще встретить прежнюю единицу звукового давления системы единиц СГС— бар или иначе дину на квадратный сантиметр (1 дин/см2), которая равна 0,1 н/м2; отсюда 1 н/м2 = 10 дин/смг = 10 бар.
Интенсивность звука (иногда "сила звука") — среднее значение мгновенной плотности звуковой энергии. Представляет собой поток свободно распространяющейся звуковой энергии, проходящий в единицу времени через единицу площади поверхности, перпендикулярной к направлению распространения волны. Единица интенсивности звука в системе единиц СИ 1 ватт на квадратный метр (1 вт/м2), в прежней, еще действующей системе единиц СГС единица интенсивности— 1 эрг/сек ·см2. Последняя единица равна 0.001 вт/м2; наоборот, 1 вт/м2 —103 эрг/сек ·см2.
В тех случаях, когда направление распространения звуковой волны определить трудно или невозможно, используют другую энергетическую характеристику поля — плотность звуковой энергии.
Плотность звуковой энергии — звуковая энергия, содержащаяся в единице объема. Единица измерения — 1 дж/м3 (в системе СГС — 1 эрг/см3).
Звуковая мощность — поток звуковой энергии, проходящий за 1 сек через данную поверхность перпендикулярно ей. Единица измерения — ватт (107 эрг/сек). Определяется по величинам звукового давления или интенсивности звука.
Скорость звука(точнее, скорость распространения звуковой волны) — путь, проходимый звуковой волной в однородной среде в единицу времени, выражается в метрах в секунду.
Скорость звука зависит от плотности и упругости среды, например: в воздухе 344 м/сек, в морской воде 1504 м/сек, в стали 4 990 м/сек, в сосне 3 320 м/сек.
Колебательная скорость — скорость колебательного смещения частиц, среды от положения покоя.
Длина волны — расстояние между ближайшими точками волны, находящимися в одинаковой фазе колебаний; расстояние, проходимое распространяющейся волной за один период колебания.
Период — время, в течение которого происходит одно полное колебание.
Частота — количество колебаний в секунду.
Фаза — стадия движения колеблющейся частицы или тела относительно какого-либо их положения, принятого за начальное. Выражается в радианах или градусах.
Синфазность — равнофазность, одинаковая фаза переменных гармонических величин. Синфазное включение громкоговорителей — такое электрическое соединение громкоговорителей, при котором создаваемые ими звуковые давления находятся в одинаковой фазе.
Чистый тон — звук, создаваемый синусоидальным акустическим колебанием.
Шум — неприятный или нежелательный звук случайного характера, не содержащий ясно выраженных частотных составляющих.
Белый шум — сложный звук, спектр которого, измеренный анализатором с постоянной шириной полосы, является непрерывнойи гладкой функцией частоты в достаточно широком диапазоне частот.
Спектр акустический — характеристика звука, выражающая его частотный (спектральный) состав и получаемая в результате анализа звука.
Биения — периодическое изменение интенсивности звука в данной точке, вызываемое взаимодействием (интерференцией) двух звуковых волн близких частот.
Интерференция — взаимодействие двух или более звуковых волн, одновременно приходящих в данную точку, приводящее кослаблению или усилению интенсивности звука в зависимости от разницы в фазах волн (от сдвига фаз).
Дифракция — изменение направления распространения звуковой волны, вызванное прохождением ее около края какого-либо препятствия.
Реверберация — затухающее звучание в закрытом помещении после прекращения действия источника звука, обусловленное многократными отражениями звука от оканчивающих поверхностей. Стандартное время реверберации — время, в течение которого интенсивность затухающего звука уменьшится в миллион раз (106) от ее начального значения, а уровень интенсивности звука спадет на 60 дб.
Громкость — субъективное ощущение интенсивности звука. Она изменяется приблизительно пропорционально логарифму изменения интенсивности звука.
Стоячая волна — результат наложения двух бегущих синусоидальных волн, распространяющихся в противоположных направлениях: падающей и отраженной; характеризуется различными амплитудами в различных точках пространства.
Явление (эффект) Допплера — изменение высоты звука (частоты колебаний) вследствие движения источника звука.
Тембр звука — характерная особенность (окраска) сложного звука, определяемая количеством и интенсивностью обертонов.
Обертоны — все дополнительные тоны, кратные по частоте основному, которые создаются колеблющимся телом.
Унтертоны — тоны, частоты которых составляют целую часть от частоты основного тона.
Октава — представляет интервал частот (полосу), в котором отношение большей крайней частоты к меньшей равно 2.
В общем виде отношение крайних частот полосы между собой выражается в октавах формулой fmax/fmin=2n где п — количество октав. Таким образом, количество октав равно логарифму (при основании 2) отношения крайних частот.
В качестве примера определим отношение двух частот, равное 1/3 октавы:
![]()
Обратной задачей будет найти, например, скольким октавам соответствует отношение частот, равное 1,41, т.е. 2n = 1.41 или, переходя к десятичному логарифму, n = 3.33 lg 1.41. С помощью таблиц или логарифмической линейки находим, что n = 0,5 октавы.
Динамический диапазон какой-либо переменной величины определяется отношением максимального ее значения к минимальному, т.е.
![]()
Однако чаще динамический диапазон выражают в единицах уровня (децибелах), т. е. определяют 10 lg D для энергетических величин (см. ниже). Понятие динамического диапазона имеет важное значение в технике радиовещания, звукозаписи и звуковоспроизведения. Ввиду того что минимальное значение сигнала (электрического или акустического) практически определяется уровнем шума, сохранение натурального динамического диапазона некоторых инструментов или ансамблей потребовало бы чрезмерно высоких уровней сигнала и мощностей. Это трудно осуществимо и экономически нецелесообразно; поэтому в процессе радиовещания или звукозаписи натуральный динамический диапазон уменьшают (сжимают).
Сопротивление излучения — комплексное акустическое сопротивление, которым колеблющаяся (вибрирующая) поверхность, например конус громкоговорителя, нагружена со стороны воздушной среды. Сопротивление излучения характеризует величину связи вибрирующей поверхности с окружающей средой. Сопротивление излучения имеет активную составляющую, определяющую излучаемую мощность, и реактивную, определяющую связанную с излучателем присоединенную массу среды, которая прибавляется к собственной массе излучателя.
Уровень — выражение величины акустического или электрического сигнала в децибелах.
Децибел — логарифмическая относительная единица измерения уровня.
Применение понятия «уровень» в практике расчета и измерений избавляет от необходимости иметь дело с очень малыми или дробными числами. Кроме того, пользование этим понятием исключает необходимость в перемножении или делении величин, заменяя эти действия более простыми; сложением пли вычитанием, что непосредственно вытекает из правил логарифмов (логарифм произведения равен сумме логарифмов сомножителей). Одним из оснований широкого использования в акустике и электроакустике единиц уровня — децибелов — явилось, то, что субъективное ощущение громкости в зависимости от интенсивности звука подчиняется психофизиологическому закону: с изменением интенсивности звука ощущение громкости изменяется приблизительно пропорционально логарифму изменения интенсивности звука. Вот почему наше ухо может воспринимать громадный динамический диапазон интенсивностей звука, достигающий на средних частотах 1012. Использование шкалы уровней позволяет выразить этот огромный диапазон интенсивностей величиной всего в 120 дб. Переход к уровню от абсолютной величины производится путем логарифмирования отношения этой величины к условно выбранной начальной.
Уровень интенсивности звука в децибелах выражается формулой
![]()
где I — интенсивность (сила) звука, переводимая в единицы уровня;
I0 — интенсивность (сила) звука частотой 1000 гц на пороге слышимости — 10-12 вт/м2= 10-9 эрг/см2 ·сек.
Поскольку интенсивность звука пропорциональна второй степени звукового давления ( I = kp 2 ), то соответствующий уровень звукового давления будет:
![]()
где р — данное эффективное значение звукового давления, а р0 = 2 • 10-5 н/м2 = 2 • 10-4 дин/см2.
Подобно акустическим уровням введено понятие электрического уровня. Электрические уровни выражают через отношение мощностей или напряжений
![]()
причем P0=1 мвт (0.001 вт), U0 = 0.775 в, а R0=600 ом. Величина U0 получается из соотношения, связывающего мощность, напряжение и сопротивление: U0 = (P0R0)1/2
Уровни, вычисленные из отношения напряжений, совпадают с уровнями, вычисленными из отношения мощностей, только в том случае, если сопротивления нагрузок, на которых выделяются мощности Р и Р0, равны (R = R0).
Если уровни вычислены по мощности, причем Р0=1 мвт, то к единице измерения уровня иногда добавляют букву м и обозначают ее дбм ( dbm ).
То обстоятельство, что энергетические величины (интенсивность, мощность и т. п.) переводятся в величины уровня с множителем 10, тогда как перевод исходных линейных величин (звуковое давление, напряжение, ток) в величины уровня совершается с множителем 20, обеспечивает одинаковое изменение уровня физической величины, независимо от того, по каким величинам она оценивается. Это очень важно, так как устраняет возможную путаницу. Например, звуковое давление, создаваемое громкоговорителем, изменилось в 2 раза (р2/р1 = 2), что означает изменение уровня звукового давления на 6 дб (20 lg 2); интенсивность звука при этом изменилась в 4 раза (I2/I1 = 4), но уровень интенсивности звука изменился также на б дб (10 lg 4).

Рис. 1. Шкала для перевода отношения двух величин в децибелы и обратно.
Верхняя шкала, дб, для звукового давления, напряжения, тока и т. д. Нижняя шкала, дб, для интенсивности звука и мощности. Средняя шкала — отношение переводимых в уровни величин.
Перевод абсолютных величин сигнала в единицы уровня удобно производить с помощью логарифмической линейки; сперва находят значение отношения двух величин (переводимой и соответствующей нулевому уровню, например, р/р0), затем логарифм этого отношения, последний умножают на 20 (или 10). Можно также воспользоваться графиком, приведенным на рис. 1.
Если переводимая в значения уровня физическая величина (звуковое давление, мощность, напряжение) меньше величины, соответствующей нулевой, то уровень станет отрицательным (так как логарифм правильной дроби отрицателен).
2. ОСОБЕННОСТИ ЗВУКОВОГО МАТЕРИАЛА
Поскольку громкоговорители предназначены для воспроизведения речевых и музыкальных звуков и технические требования в отношении частотных характеристик громкоговорителей основываются на свойствах натуральных звуков, целесообразно кратко остановиться на особенностях того звукового материала, который должен воспроизводиться громкоговорителем.
Речь и музыка представляет собой сочетание различных по частоте и силе звуков, непрерывно меняющихся в процессе звучания. Звук, произведенный голосом певца или музыкальным инструментом и воспринимаемый как тон определенной высоты, на самом деле содержит ряд дополнительных тонов различной интенсивности — обертонов, частоты которых в 2, 3, 4 и т. д. раза больше основной частоты звука. Их относительной силой определяется тембр звука. Тональность (высоту звука) определяет основная, самая низкая частота такого сложного колебания. При определении необходимой полосы частот звуковоспроизводящих устройств и их звеньев (усилителей, громкоговорителей и т. п.), а также при оценке качества той или иной звукоусилительной системы по ее параметрам или техническим характеристикам исходят из точных данных о натуральном частотном диапазоне и особенностях звучания музыкальных инструментов. Основные частоты звуков, производимых различными музыкальными инструментами, охватывают полосу частот приблизительно от 16 до 4 000 гц, но со стороны низших частот этот диапазон практически ограничивается частотой 30 гц, так как музыкальные тоны более низких частот встречаются очень редко. Таким образом, полосу от 30 до 4 000 гц следует считать нормальным диапазоном основных частот музыкальных инструментов. Однако для сохранения специфической тембровой окраски звучания музыкальных инструментов и обеспечения этим большей натуральности звучания необходимо воспроизвести и обертоны, создаваемые инструментами. Это требование передвигает верхнюю границу воспроизводимых частот к 16—20 кгц.
Звуки речи охватывают более узкий частотный диапазон: женская речь от 200 до 1 300 гц по основным частотам и до 8 000 гц С обертонами, мужская речь от 70 до 700 гц по основным частотам и до 5 000 гц с обертонами. Певческие голоса имеют следующие диапазоны звучания основных частот: бас 90 — 350 гц, тенор 130— 500 гц, сопрано 250—1 200 гц. Помимо частотных свойств, звучание различных инструментов и голосов характеризуется динамическим диапазоном, причем более мощные инструменты имеют больший диапазон. Также различен и динамический диапазон музыкальных ансамблей, что является следствием того, какими инструментами и в каком количестве создается максимальная и минимальная интенсивность звука (фортиссимо и пианиссимо). Наибольшим динамическим диапазоном обладает симфонический оркестр, у которого отношение интенсивности звука всего состава музыкальных инструментов к интенсивности звука скрипки—соло составляет 65—75 дб, т.е. в среднем 70 дб, что соответствует отношению интенсивностей в 107 раз. Звуковоспроизведение диапазона частот от 30 гц до 16 кгц технически довольно трудная задача, которая решается путем усложнения аппаратуры и в первую очередь громкоговорителей, что приводит к значительному ее удорожанию. В связи с тем, что это не всегда требуется, были проведены тщательные экспериментальные исследования, позволившие установить нормы допустимых ограничений полосы воспроизводимых частот и неравномерности частотной характеристики для различных классов качества воспроизведения (см. стр. 20).
Другие исследования были посвящены изучению статистических характеристик различных натуральных звучаний музыкального характера. В частности, было исследовано распределение динамических уровней большого числа звучаний, которое позволило решить вопрос о соотношении номинальных мощностей, двухполосной и эквивалентной ей широкополосной звуковоспроизводящих систем при различных частотах разделения всего диапазона на две части. Так, при частоте разделения 570 гц мощность низкочастотной части составляет 0,84, высокочастотной — 0,59 мощности широкополосной системы.
При частоте разделения 900 гц мощность низкочастотной части составляет 0,91, высокочастотной — 0,51; при частоте разделения 1430 гц мощность низкочастотной части составляет 0,98, высокочастотной — 0,4 мощности широкополосной системы.
Таким образом, по мере увеличения частоты разделения растет отношение мощностей низкочастотной и высокочастотной частей; для частоты разделения 570 гц оно равно 1,42; для частоты 900 гц отношение мощностей равно 1,78 и 2,45 для частоты разделения 1430 гц.
3. ПРИНЦИП ДЕЙСТВИЯ И УСТРОЙСТВО ГРОМКОГОВОРИТЕЛЕЙ
Рис. 2. Схема возникновения электродвижущей силы (силы Лоренца)
Электродинамический громкоговоритель является электроакустическим преобразователем.
Принцип его работы основан на взаимодействии проводника с током и постоянного магнитного поля. Схематически этот принцип, относящийся к любой электродинамической системе, показан на рис. 2 и заключается в следующем. Если в магнитное поле, образованное полюсами магнита, помещен проводник, по которому проходит постоянный электрический ток, то на проводник будет действовать механическая сила, называемая электродинамической. Эта сила стремится вытолкнуть проводник из зоны действия магнитного поля в направлении, перпендикулярном силовым линиям поля и направлению тока (правило "левой руки"). В том случае если ток, протекающий по проводнику, будет переменным, то сила, выталкивающая проводник, будет изменять свое направление с частотой переменного тока и проводник будет совершать колебания в магнитном поле с той же частотой. В электродинамическом громкоговорителе, типовая конструкция которого показана на рис. 3, магнитное поле сосредоточено в кольцевом зазоре, а проводник намотан на цилиндрическом каркасе в виде звуковой катушки. Сила взаимодействия переменного тока, протекающего по звуковой катушке, и магнитного поля приводит в аксиальное(осевое) колебательное движение катушку и жестко соединенный с нею диффузор (конус). Количественно эта сила ( F ) пропорциональна магнитной индукции в кольцевом зазоре (В, вб/м2; 1 вб/м2 = 104 гс), длине проводника звуковой катушки (l, м) и силе тока (i, а), т. е.
F = B · l · i
Устройство электродинамического громкоговорителя видно из рис. 3. Постоянный магнит 1 создает сильное
магнитное поле в кольцевом зазоре между керном 2 и передним фланцем 3.
В этом зазоре помещается звуковая катушка 4, жестко соединенная с
диффузором конической формы 5. Звуковая катушка расположена посередине
кольцевого зазора благодаря наличию центрирующей шайбы 6, приклеенной к
диффузору вблизи места соединения его со звуковой катушкой. Края диффузора и
центрирующей шайбы в виде плоского воротника крепятся к диффузородержателю 7,
имеющему прорези (окна). Звуковая катушка вместе с диффузором и центрирующей
шайбой образуют подвижную систему громкоговорителя. Перемещения (колебания)
диффузора возбуждают в окружающем воздушном пространстве звуковые волны,
воспринимаемые человеческим ухом как звуки.
Основная резонансная частота подвижной системы (частота механического резонанса громкоговорителя) зависит от ее массы и гибкости (упругости): чем больше масса и больше гибкость, тем ниже резонансная частота. Гибкость подвижной системы определяется гибкостями центрирующей шайбы и подвеса диффузора; гибкость подвеса диффузора обычно больше, чем гибкость центрирующей шайбы. Масса подвижной системы в основном складывается из масс звуковой катушки, диффузора и соколеблющейся с диффузором (присоединенной) массы воздуха. При воспроизведении сигнала с частотой, близкой или равной частоте основного резонанса подвижной системы громкоговорителя, и неизменном токе в звуковой катушке амплитуда колебаний диффузора увеличивается и повышается звуковое давление на этих частотах.
Магнитная
система. Амплитуда колебаний диффузора, как указывалось ранее, зависит от величины магнитной индукции,
существующей в кольцевом зазоре, где помещается
звуковая катушка. В свою очередь величина индукции зависит от конструкции
деталей магнитной системы и качества постоянного магнита. Магнитная
система громкоговорителя состоит из магнита и магнитопровода.
Магнит обычно имеет форму кольца (рис. 4, а, г) или керна (рис. 4, 6, в). Кольцевые
магниты отливают из специальных алюминие-никелевых
сплавов (типа «альни» ЮНД4) с присадками других материалов; для создании нужных
индукций в зазоре они имею достаточно большой объем и вес. Керновые магниты имеют меньшие
размеры и вес, так как изготовляются из более высококачественных алюминий-никелево-кобальтовых
сплавов с примесями других дорогих металлов (например, сплавы ЮНДК24, ЮНДК25БА
и др.).
Для магнитопровода используют сталь (например, "армко"). Магнитопровод выполняют закрытым — в виде стакана (рис. 4, б) или открытым — в виде скобы (рис. 4, в). Вследствие трудностей изготовления магнитного керна с концом нужного диаметра и с минимальными допусками, на торцовую часть керна наклеивают круглую стальную пластинку. Ее толщина равна толщине переднего фланца. Пластинка и круглое отверстие фланца образуют кольцевой зазор. Керновые магниты позволяют создать магнитную систему громкоговорителя со значительно меньшим внешним магнитным полем рассеяния. Это очень важно для громкоговорителей, применяемых в телевизорах и радиоприемниках с внутренними магнитными антеннами; громкоговорители с кольцевыми магнитами там не могут использоваться. Наряду с магнитами из металлических сплавов широко применяются магниты, прессованные из ферритбария (марки 2БА и ЗБА). Они имеют вид сравнительно тонкой, но широкой шайбы для уменьшения магнитного сопротивления. Магнитная система в этом случае отличается малой высотой (рис. 4, г).
Звуковая катушка. Звуковую катушку наматывают медным или алюминиевым проводом на каркасе из плотных сортов бумаги (в маломощных громкоговорителях) или алюминия, меди, а также пластмассы (в мощных громкоговорителях). Число слоев всегда делается четным, чтобы выводы катушки были с одной стороны; чаще всего делаются два или четыре слоя. Благодаря хорошему отводу тепла допускается большая плотность тока в обмотке — от 30 до 90 а/мм2. Для скрепления обмотки с каркасом витки склеивают между собой и с каркасом лаком. Согласно ГОСТ 9010-67 полное электрическое сопротивление звуковой катушки должно быть одним из следующих номиналов: 4; 6,5; 8; 12,5; 16; 30; 60 Ом. Выводы обмотки приклеивают к каркасу и диффузору, а их концы припаивают к пустотелым заклепкам или скобкам, установленным на диффузоре.
К последним припаивают также специальные гибкие и очень прочные проводники, которые другими концами присоединяются к выводным контактам громкоговорителя, установленным на диффузородержателе. С целью уменьшения нелинейных искажений высота звуковой катушки делается или меньше, или больше высоты кольцевого зазора. В обоих этих случаях катушка совершает осевые перемещения в неизменном по силе магнитном поле, т.е. сохраняется постоянным среднее значение индукции.
Центрирующая шайба. Правильное положение звуковой катушки по ширине магнитного зазора обеспечивается центрирующей шайбой, которая обладает значительно большей жесткостью в поперечном оси катушки (радиальном) направлении, чем в продольном. Поперечная жесткость важна для стабильной установки звуковой катушки в магнитном зазоре так, чтобы она не касалась ни керна, ни фланца. Осевая гибкость необходима для получения достаточно низкой частоты основного резонанса подвижной системы громкоговорителя. В тех случаях, когда частота основного резонанса сравнительно высока, например у высокочастотных громкоговорителей, осевая жесткость центрирующей шайбы может быть также увеличена.
Применяются центрирующие шайбы гофрированной (рис. 5,a) или паучковой (рис. 5,6) конструкции. Первые, получившие у нас наибольшее распространение, имеют концентрические гофры с числом гофр два — пять разнообразного профиля (синусоидального, трапецеидального и других) и делаются из пропитанной бакелитовым или цапон-лаком хлопчатобумажной или шелковой ткани. Паучковые центрирующие шайбы изготовляются штамповкой из тонкого текстолита. У большинства громкоговорителей центрирующая шайба расположена с внешней стороны диффузора (рис. 5, а, б), однако она может быть расположена и внутри диффузора (рис. 5, в), будучи прикрепленной своей центральной частью к керну. Внутренняя центрирующая шайба не допускает больших перемещений звуковой катушки без нарушения линейности ее упругости. Поэтому она применяется только в маломощных и высокочастотных громкоговорителях, у которых перемещения звуковой катушки малы.
Довольно часто, особенно в громкоговорителях большой мощности центрирующая шайба устанавливается на переднем фланце магнитной системы.

Диффузор. Диффузор является излучающим элементом громкоговорителя, в значительной степени определяющим его основные электроакустические характеристики. Как одно целое (как поршень) диффузор колеблется только в области низших частот; на средних и высших частотах различные участки диффузора колеблются с разными амплитудами и фазами, в результате чего в частотной характеристике громкоговорителя появляются пики и провалы. Обычно диффузор имеет коническую форму. Широко применяются два типа диффузоров: круглые и овальные (эллиптические). У последних к вершине конуса, где к нему прикрепляется каркас звуковой катушки, овал переходит в круг. Овальная форма диффузора не улучшает электроакустические параметры громкоговорителя, а лишь более удобна при размещении громкоговорителя в ящиках телевизоров, магнитофонов и некоторых типов приемников. Диффузоры штампуют из цельных листов бумаги или отливают из бумажной массы, иногда с примесью шерсти, на сетках; толщина диффузоров колеблется от 0,1 мм в миниатюрных громкоговорителях до 0,4 мм в громкоговорителях мощностью 5—10 вт. В некоторых зарубежных громкоговорителях применяют диффузоры из полимеров и пенопласта, армированного с двух сторон алюминиевой фольгой, а также из металла— титана. Край диффузора (основание конуса) имеет концентрические гофры, которые переходят в плоский воротник, приклеиваемый к диффузородержателю. Концентрические гофры, называемые подвесом диффузора, обеспечивают ему возможность совершать осевые перемещения.
В некоторых громкоговорителях вместо кольцевого гофра применен воротник из дугообразных полосок тонкой кожи или другого гибкого материала.
Высота (глубина) диффузора делается такой, чтобы обеспечить симметричное положение звуковой катушки по высоте магнитного зазора; соблюдение этого способствует уменьшению нелинейных искажений громкоговорителя.
Для хорошего воспроизведения высших звуковых частот диффузор должен быть жестким и иметь меньшую массу. Чтобы диффузор обладал достаточной жесткостью, ему обычно придают коническую форму с углом раскрытия от 100 до 120—130°. При больших углах диффузор оказывается недостаточно жестким, а при меньших — слишком тяжелым, так как при этом растет глубина диффузора. Жесткость конической части диффузора можно повысить употреблением более жестких сортов целлюлозы и последующей пропиткой части диффузора, прилегающей к звуковой катушке, лаками. Этой же цели способствует кривизна образующей конуса (рис. 6, а), которая предназначена главным образом для снижения субгармонических колебаний диффузора (на половине возбуждающей частоты). Кроме того, иногда применяют дополнительный диффузор (конус) с меньшим углом раскрытия, который прикрепляется своей вершиной к основному диффузору (рис. 6,б). Второй диффузор, будучи жестче, лучше воспроизводит высшие частоты, расширяя вверх границу воспроизводимых частот. Иногда в громкоговорителях мощностью 5 вт и выше применяют диффузоры с кольцевой гофрировкой (рис. 6, б), у которых благодаря гибкости гофра часть диффузора, прилегающая к его основанию, как бы отключается на высших частотах, уменьшая массу подвижной системы и улучшая воспроизведение этих частот.
Диффузородержатель. Диффузородержатель предназначен для установки в нем диффузора, элементов подвижной системы и крепления громкоговорителя во внешнем оформлении, часто называемым акустическим. Диффузородержатели делают преимущественно из стали глубокой вытяжки, твердых сортов алюминия или отливают из силумина (сплава алюминия с кремнием). Значительно реже делают диффузородержатель из пластмассы.
В диффузородержателях делаются боковые прорези (окна). Очень важно, чтобы в диффузородержателе была обеспечена параллельность между плоскостями, к которым крепятся воротник диффузора, центрирующая шайба и передний фланец магнитной системы. К переднему фланцу диффузородержатель прикрепляется заклепками или винтами, реже при помощи сварки.
Классификация электродинамических громкоговорителей. Электродинамические громкоговорители разделяются по электроакустическим, конструктивным и эксплуатационным признакам. К первым относятся: полоса воспроизводимых частот (ширококополосные или узкополосные громкоговорители), номинальная электрическая мощность, активное сопротивление звуковой катушки (низкоомные или высокоомные громкоговорители). К конструктивным признакам относятся: устройство подвижной системы (один диффузор или два, одна звуковая катушка или две, одиночный или спаренный громкоговоритель), устройство магнитной системы, форма диффузора — круглая или овальная. К эксплуатационным признакам относятся температурные и климатические условия работы громкоговорителя и его влагостойкость. Согласно ГОСТ 9010-67 сокращенные обозначения громкоговорителей имеют следующее значение: первая цифра указывает номинальную мощность громкоговорителя в ваттах, буквы указывают тип громкоговорителя (ГД — громкоговоритель электродинамический, КЗ — колонка звуковая), вторая — номер разработки громкоговорителя. Третья цифра указывает значение частоты механического резонанса, если этот тип громкоговорителя выпускается с различными резонансными частотами. Громкоговорители, предназначенные для работы в тропических условиях, имеют в конце обозначения букву Т.
4. основные показатели электродинамических громкоговорителей
Громкоговорители характеризуются рядом показателей (параметров), определяющих их качество и эффективность работы. Основными из них являются номинальная мощность, основная резонансная частота (частота механического резонанса) подвижной системы, полное электрическое сопротивление, частотная характеристика громкоговорителя по звуковому давлению и ее неравномерность, среднее стандартное звуковое давление, коэффициент гармоник и коэффициент полезного действия (к. п. д.). Значение этих параметров позволяет оценить качество каждого громкоговорителя, сравнить между собой, отдельные типы, определить их назначение, т. е. пригодность для тех или иных целей, а также правильно согласовать с усилительным устройством и внешним оформлением, в котором они должны работать.
Номинальная мощность. Наибольшая подводимая к громкоговорителю электрическая мощность, при которой нелинейные искажении не превышают норм, предусмотренных в стандарте или технических условиях на громкоговоритель (обычно не более 5—10% на частотах 100—200 гц), называется номинальной мощностью и выражается в ваттах. Этот параметр обязательно указывается в паспорте или другом сопроводительном документе на громкоговоритель.
Полное электрическое сопротивление представляет отношение напряжения на выводах звуковой катушки к току, протекающему в ней. Оно определяется активным сопротивлением звуковой катушки, ее индуктивностью и вносимым в электрическую цепь механическим сопротивлением подвижной системы громкоговорителя. Типичная частотная характеристика модуля полного сопротивления громкоговорителя показана на рис. 7. Максимум в области низших частот соответствует частоте основного резонанса подвижной системы. Возрастание сопротивления на высших частотах обусловлено индуктивностью звуковой катушки. Минимальная величина модуля полного сопротивления равна активному сопротивлению звуковой катушки.
Частотная характеристика полного сопротивления громкоговорителя позволяет более точно определить частоту основною резонанса подвижной системы громкоговорителя, установить оптимальную величину нагрузки выходного каскада усилителя и данные элементов разделительного фильтра. Из приведенной частотной характеристики следует, что в расчет нагрузки усилителя никак нельзя принимать только активное сопротивление звуковой катушки. Очевидно, что средним значением модуля полного сопротивления звуковой катушки будет его величина на частоте 1,5 или 2,5 кгц в зависимости от высшей граничной частоты. Следует также учитывать, что является для используемого усилителя более нежелательным в смысле возрастания искажений: увеличение или уменьшение сопротивления нагрузки против номинала, и в зависимости от этого и частотной характеристики полного сопротивления громкоговорителя выбрать расчетную величину. При расчете разделительного фильтра принимается средняя величина модуля полного сопротивления громкоговорителя в его рабочей полосе частот (полосе прозрачности фильтра).
Вид частотной характеристики модуля полного сопротивления и частота основного резонанса в некоторой степени зависят от внешнего оформления громкоговорителя.

Среднее стандартное звуковое давление. Для единства измерений и удобства сравнения между собой различных громкоговорителей определяется так называемое стандартное звуковое давление (н/м2). Оно измеряется на расстоянии 1 м от громкоговорителя на его рабочей оси при подведении постоянного напряжения, соответствующего 0,1 вт при частоте 1000 гц. Измерения проводят в заглушённой акустической камере или на открытом воздухе.
Среднее стандартное звуковое давление громкоговорителя определяется как среднеарифметическое из значений стандартного звукового давления, измеренного для ряда частот, которые располагаются внутри номинального частотного диапазона, установленного ГОСТ или техническими условиями на испытуемый тип громкоговорителя.
Частотная характеристика. Графическое изображение зависимости уровня звукового давления (в децибелах) от частоты называется частотной характеристикой чувствительности или частотной характеристикой по звуковому давлению громкоговорителя. Чем более широкий частотный диапазон охватывается частотной характеристикой и чем она ровнее (глаже), тем лучше громкоговоритель.
В пределах воспроизводимой громкоговорителем полосы частот звуки различных частот воспроизводятся им неодинаково. Наиболее трудно воспроизвести звуки крайних частот полосы — низкие и высокие звуки. Отклонения частотной характеристики громкоговорителя от горизонтальной линии представляют его частотные искажения.
Реальные частотные характеристики громкоговорителей (рис. 8) содержат не только спад на краях воспроизводимой полосы, но и различные подъемы и провалы, могущие увеличить неравномерность частотной характеристики. Однако в связи с тем, что паше ухо не замечает изменения уровня до 2 дб и острых пиков и провалов, реальные характеристики обычно сглаживаются.
Неравномерность частотной характеристики громкоговорителя определяется разностью наибольшего и наименьшего уровней звукового давления, отложенной по вертикальной оси. Для массовых типов электродинамических громкоговорителей допускается неравномерность 16 дб. Приведенная характеристика (рис. 8) позволяет определить, что частотный диапазон громкоговорителя находится в пределах 75—14 500 гц при неравномерности 15 дб. Как видно, частотная характеристика данного громкоговорителя резко падает ниже 100 гц и выше 10 000 гц Такой вид характеристики типичен для всех диффузорных электродинамических громкоговорителей и обусловливается тем, что ниже основной резонансной частоты подвижной системы громкоговорителя (на рис. 8 она равна 100 гц) начинает резко уменьшаться излучение, а на высших частотах диффузор перестает колебаться как единое целое и таким образом уменьшается его эффективная поверхность.
Следует подчеркнуть, что воспроизведение звуков низших частот сильно зависит от конструкции и размеров внешнего оформления (щита, ящика, футляра и т. п.), в котором будет работать громкоговоритель.

Нелинейные искажения. Нелинейные искажения, нарушающие верность звуковоспроизведения, возникают из-за нелинейности амплитудной характеристики, т. е. нарушения пропорциональности между величинами электрического напряжения, подводимого к громкоговорителю, и развиваемого им звукового давления. Нелинейные искажения характеризуются возникновением в воспроизводимом спектре частот новых составляющих, «загрязняющих» звуковую передачу дополнительными призвуками.
Продуктами нелинейных искажений являются гармоники, представляющие тоны двойной, тройной и т. д. частоты, и комбинационные частоты, представляющие собой тоны частот nf 1 ± mf 2 , причем f 1 и f2 — частоты основных тонов (или их гармоник), а n и m - любые целые числа. Все паразитные частотные составляющие сигнала появляются обычно при больших уровнях сигнала и воспринимаются как звучание с хрипом, дребезжанием и т. п. В громкоговорителях, воспроизводящих достаточно широкую полосу частот, часто возникают особые искажения, также связанные с нелинейностью и обусловленные амплитудной модуляцией. Такие искажения называются интермодуляционными или искажениями взаимной модуляции.

а, 6 — неискаженное и искаженное воспроизведение тона 50 гц; в — неискаженный тон 1000 гц; г, д, е — одновременное воспроизведение тонов 50 и 1000 гц при возрастающем напряжении тона 50 гц; ж — неискаженное воспроизведение двух тонов.
Они наблюдаются в широкополосных диффузорных громкоговорителях, выходных трансформаторах и других нелинейных звеньях звуковоспроизводящей системы при одновременной передаче сигналов двух и более частот, из которых одна значительно выше другой. Они приводят к очень большим искажениям. На рис. 9 показано, какой вид имеют на осциллографе интермодуляционные искажения, создаваемые громкоговорителем при его перегрузке. На рис. 9, а-в показано неискаженное воспроизведение тона частотой 50 или 1000 гц (на громкоговоритель подается 1 В) и искаженного тона 50 гц (на громкоговоритель подается 4.5 В). На рис. 9, г-е показано одновременное воспроизведение двух тонов 50 и 1000 гц, при возрастающем напряжении тона 50 гц (2.3 В и 4.5 В). Хорошо видно, как возрастают искажения тона 1000 Гц. На рис. 9, ж показано неискаженное воспроизведение обоих тонов. Существование интермодуляционных искажений явилось одной из причин применении двухполосных систем воспроизведения звука (воспроизведение низших и высших частот разными громкоговорителями) как средства борьбы с подобными искажениями. Источником нелинейных искажений в громкоговорителях является нелинейность гибкости подвесов подвижной системы, т.е. различная гибкость подвесов при разных по величине перемещениях звуковой катушки и диффузора. Другой источник нелинейных искажений — непостоянство магнитной индукции по высоте кольцевого зазора. Эта осевая неоднородность магнитного поля зависит от конструкции магнитной системы, причем высота звуковой катушки и симметричность ее положения в зазоре может влиять на искажения, вызванные магнитной неоднородностью. Здесь следует указать, что горизонтальное расположение громкоговорителя (ось диффузора вертикальна) с очень низкой частотой основного резонанса благодаря провесу звуковой катушки с диффузором может способствовать увеличению нелинейных искажений. Величину провеса подвижной системы (х) можно определить в зависимости от основной резонансной частоты громкоговорителя по формуле
x = 25 / f2p, [см]
Нелинейные искажения могут также создаваться нелинейностью упругости воздуха в замкнутом объеме под гофрированной центрирующей шайбой.
Другой вид искажений, встречающихся в диффузорных громкоговорителях, возникает при одновременном воспроизведении звуков низших и высших частот. Эти искажения не связаны с нелинейностью, а обусловлены эффектом Допплера. Из-за больших перемещений диффузора на низших частотах происходит частотная модуляция высших частот. При этом появляются продукты модуляции. Устранение таких искажений также обеспечивается использованием двухполоской системы звуковоспроизведения.
В настоящее время оценивается и нормируется только величина коэффициента гармоник. Чем больше значение этого коэффициента, тем больше будет искажен тембр звука появлением различных призвуков (дребезг и т. п.). Амплитуда смещения (колебаний) подвижной системы тем больше, чем ниже частота, поэтому нелинейные искажения проявляются чаще всего на низших частотах.
На основе тщательных экспериментальных исследований слышимости искажений и их комбинаций были определены нормы допустимых значений искажений для четырех классов качества радиовещательных трактов. Эти нормы, содержащиеся в ГОСТ 11515-65, приведены в табл. 1; они позволяют установить технические требования к громкоговорителям. Эти данные показывают, что на низших частотах допустимы большие нелинейные искажения, чем на высших, и чем шире диапазон воспроизводимых частот, тем допустимы меньшие значения нелинейных искажений.
Показатели качества звуковых трактов
Таблица 1
| Показатели | Классы | |||
| высший | I | II | III | |
Полоса частот, fН — f В, Гц |
30 — 1 5 000 |
50 — 10 000 |
100 — 6 000 |
200 — 4 000 |
Отклонение границы полосы, Гц |
fН + 8, fB - 5% |
fН + 10, fB - 5% |
fН + 8, fB - 5% |
— |
| Фон с частотой 50, 100 и 150 Гц, не выше [дБ] | — 60 | — 55 | — 50 | — 50 |
Неравномерность частотной характеристики в полосе |
6 | 6 | 6 | 6 (10) |
В остальной части полосы, дБ, не более |
2 |
2 |
3 |
6 (10) |
| Максимальный коэффициент гармоник, в процентах на частотах: |
2/1 | 6/3 | — | — |
| 100—200 Гц | 1.5/0.7 | 3.5/1.7 | 8/4 | — |
200 — 4 000 Гц |
1/0.6 |
2.5/1.2 |
4/2 |
7/3.6 |
более 4 000 Гц |
2/1 | 5/2.5 | — | — |
Примечания:
1. В таблице fн — низшая частота рабочего диапазона; fB — высшая частота рабочего диапазона.
2. Нормы в скобках временно установлены для устройств, имеющих неравномерности частотной характеристики в виде узких пиков и провалов (например, для громкоговорителей).
3. Значения коэффициента гармоник, указанные в числителе, должны быть выдержаны при повышенном уровне сигнала, а в знаменателе — при пониженном уровне.
Направленность излучения. Направленность излучения громкоговорителя представляет довольно важный технический показатель, указывающий, как распределяется по озвучаемой площади излучаемая громкоговорителем звуковая энергия. Направленность излучения представляет зависимость звукового давления, создаваемого громкоговорителем на некотором постоянном расстоянии, от угла между осью громкоговорителя и линией, соединяющей точку в пространстве, в которой измеряется звуковое давление, с центром диффузора. Такая зависимость измеряется для нескольких звуковых частот, а ее графическое изображение называется характеристикой направленности громкоговорителя или диаграммой направленности. На этой характеристике звуковое давление, создаваемое громкоговорителем, указывается не в абсолютных величинах, а в долях (процентах) от звукового давленияна оси громкоговорителя (или в децибелах). За рубежом направленность часто называют дисперсией громкоговорителя.
Чем
больше по сравнению с длиной волны излучающая поверхность источника звука, тем
острее направленность излучения. Если длина излучаемой звуковой волны велика
(низшие частоты), а размеры излучателя меньше этой длины, то источник звука не
обладает для этих частот направленностью. На высших же частотах, т. е. при
малых длинах волн, направленность излучателя повышается.
Если излучатель звука не симметричен относительно своей оси, то направленность его различна в горизонтальной и вертикальной плоскостях. Она будет большей в той плоскости, которая одноименна расположению большей стороны излучателя. Так если у громкоговорителя с овальным диффузором вертикально расположена большая сторона, то характеристика направленности в вертикальной плоскости будет более узкой, чем в горизонтальной. В большинстве случаев звуковоспроизведения значительная направленность излучения громкоговорителя является нежелательной, так как при этом ограничивается пространство, в котором равномерно слышны звуки всей полосы воспроизводимых частот. Обычно за счет направленности ухудшается воспроизведение частот выше 1—2 кГц. Это означает, что прослушивание в стороне от оси громкоговорителя будет сопровождаться ослаблением высших частот. В результате направленности излучения качество звучания оказывается лучшим для слушателей, находящихся ближе к оси громкоговорителя, и худшим для слушателей, находящихся в стороне от этой оси.
Для воспроизведения музыкальных произведений, особенно исполняемых большими ансамблями, необходимо иметь возможно более широкую характеристику направленности на высших частотах. Именно расширением диаграммы направленности с помощью боковых высокочастотных громкоговорителейдо практически ненаправленного излучения всего диапазона частот было достигнуто в 1954 г. объемное звучание (системы 3 D и 4 R), сыгравшее значительную роль в улучшении звучания радиоприемников. На рис. 10 представлена характеристика направленности громкоговорителей в такой системе.
В ряде случаев направленность излучения громкоговорителей является необходимой и весьма полезной. К таким случаям относится озвучение больших площадей, трибун стадиона. Здесь направленность излучения громкоговорителей позволяет повысить равномерность звукового уровня в разных точках озвучаемой площади и сэкономить мощность усилителя. Последнее достигается исключением расходования звуковой энергии в направлениях, где отсутствуют слушатели.

а — направленности; б—уровня звукового давления для двух положений измерительного микрофона (М1, и М2).
Направленность громкоговорителей ценна и в звукоусилительных установках, где она способствует ослаблению воздействия громкоговорителей на микрофон и устраняет благодаря этому акустическую обратную связь (свист).
Влияние направленности излучения громкоговорителя должно отражаться как в характеристике направленности, так и в частотной характеристике громкоговорителя, измеренной при различных положениях измерительного микрофона относительно громкоговорителя.
Для иллюстрации этой связи на рис. 11, а приведена характеристика направленности и на рис. 11, б — частотная характеристика уровня звукового давления громкоговорителя, смонтированного сбоку настенной конструкции ящика трапецеидальной формы; ящик рассчитан на установку в нем двух громкоговорителей симметрично.
Из приведенных характеристик видно, что при частоте 2 кгц и выше направленность излучения сильно обострена. В результате этого частотная характеристика громкоговорителя, измеренная при положении микрофона приблизительно под углом 120° к оси диффузора, показывает резкое ухудшение воспроизведения частот выше 1,5 кгц, тогда как характеристика, измеренная при положении микрофона против громкоговорителя, не содержит такого провала.
Направленность излучения громкоговорителя может зависеть не только от размеров самого излучателя, но и от акустического оформления, включая сюда зависимость от взаимного расположения громкоговорителей, излучающих одинаковую полосу частот, если они установлены совместно в общем оформлении.
Направленность излучения всегда является результатом интерференции: либо между излучением от различных участков поверхности излучателя, либо между прямой и оборотной волнами громкоговорителя, либо между излучением различных громкоговорителей, используемых одновременно. В диффузорном громкоговорителе характеристика направленности расширяется с увеличением угла раствора диффузора и с уменьшением плотности его материала.
Коэффициент полезного действия. Эффективность громкоговорителя как преобразователя электрической энергии в звуковую определяется его к. п. д., представляющим отношение излучаемой акустической мощности к подводимой электрической. Приближенно к. п. д. диффузорного громкоговорителя в процентах может быть выражен следующей формулой.
![]()
где В — магнитная индукция в зазоре, тл; V — объем обмотки звуковой катушки, м3; S Д — площадь излучающей поверхности диффузора, м2; m — масса подвижной системы, кг; р — удельное сопротивление провода звуковой катушки, ом*м.
При уменьшении габаритов громкоговорителя к. п. д., как правило, уменьшается. Происходит это потому, что одновременно уменьшаются: площадь поверхности диффузора (SД), объем проводника в звуковой катушке ( V ) и (часто) индукция в зазоре (В). Уменьшается и масса подвижной системы (m), причем это приводит к увеличению к. п. д. Однако первые три величины влияют в значительно большей степени, вызывая снижение эффективности, наблюдаемое у громкоговорителей малого размера. Величина к. п. д. диффузорных электродинамических громкоговорителей очень мала и не превышает даже у самых лучших и мощных типов 2—3%, а у большинства громкоговорителей средней мощности составляет примерно 1%. Измерение к. п. д. громкоговорителя весьма затруднительно, поэтому эффективность громкоговорителя оценивают по стандартному или среднему стандартному звуковому давлению.
Демпфирование громкоговорителя. Существует еще один показатель громкоговорителя, который пока не нормируется, но влияет на качество звуковоспроизведения: способность громкоговорителя воспроизводить звуки импульсного характера. Эта способность определяется переходными характеристиками громкоговорителя.
Как показали многочисленные исследования, динамическая структура речи и музыки имеет импульсный характер. Речь и в значительной степени музыка представляют собой непрерывный ряд следующих один за другим изменяющихся звуковых импульсов различной продолжительности, интенсивности и частоты (высоты тона), т. е. представляют непрерывный переходный процесс. Хороший громкоговоритель должен иметь такие переходные характеристики, которые обеспечивали бы его способность точно преобразовывать электрический импульс в звуковой, т. е. сохранять форму и продолжительность импульса.
Переходные
характеристики громкоговорителя зависят от степени электромеханического
демпфирования подвижной системы, т. е. величины тормозящего усилия, вызванного
индуктированной в катушке громкоговорителя э. д. с, и механических потерь
(внутреннее трение) в подвижной системе. Недостаточное демпфирование подвижной
системы громкоговорителя проявляется наличием в его частотной характеристике
максимумов и минимумов (пиков и провалов), свидетельствующих о том, что
система имеет одну или несколько резонансных частот.
Высота и ширина пика указывают на степень демпфирования (затухания): чем больше и острее максимум или минимум, тем меньше затухание в колебательной системе. Плохие переходные характеристики громкоговорителя и его неспособность точно воспроизводить электрический импульс объясняются тем, что подвижная система громкоговорителя не только смещается электрическим импульсом из положения покоя, но и возбуждается на собственных (резонансных) частотах системы. Собственные колебания системы проявляются как в начале, так и в конце электрического импульса, являясь свободными затухающими колебаниями, они могут продолжаться и после прекращения действия импульса.
При слабом демпфировании затухание собственных колебаний подвижной системы громкоговорителя продолжается довольно долго (0,1—0,15 сек). Вследствие этого они могут попасть на следующий звуковой импульс и значительно исказить сигнал, сопровождая его призвуками, отсутствующими в передаваемом сигнале. Для иллюстрации на рис. 12 приведены осциллограммы э. д. с, развиваемых в звуковых катушках двух громкоговорителей, зашунтированных резистором 70 ом, после вывода катушки из состояния покоя импульсом постоянного тока. На рис. 12, а показана осциллограмма недостаточно демпфированного громкоговорителя, затухание собственных колебаний которого продолжается в течение более восьми периодов. На рис. 12, б показан образец кривой затухания собственных колебаний хорошо демпфированного громкоговорителя. Как видно из осциллограммы, собственные колебания прекращаются уже после одного полного колебания (около 0,02 сек).
Значительное демпфирующее влияние на подвижную систему громкоговорителя оказывает и выходный каскад усилителя. Дело в том, что при колебаниях звуковой катушки в ней наводится э. д. с, создающая ток, противодействующий перемещениям катушки, т. е. тормозящий ее колебания. Чем меньше выходное сопротивление усилителя, шунтирующее звуковую катушку, тем больше величина наведенного тока и тем большая сила торможения создается им. На рис. 13 изображены осциллограммы собственных затухающих колебаний одного и того же громкоговорителя при шунтировании его звуковой катушки резисторами 70 и 18 ом (эквивалентными выходному сопротивлению усилителя). Кривые указывают на большую роль величины выходного сопротивления усилителя в демпфировании громкоговорителя. Они же поясняют, почему низкое сопротивление усилителя, которое обеспечивается применением отрицательной обратной связи, является обязательным условием повышения качественных показателей усилителя 1.
1 В зарубежной литературе демпфирующие свойства усилителя оцениваются его «демпфирующим фактором», равным отношению номинальной нагрузки усилителя R н к его выходному сопротивлению r у , т.е. D = R н / r у или в децибелах D =201 g ( R н / r у ).
Следует
указать, что способ соединения (последовательно или параллельно) двух или
более однотипных громкоговорителей, работающих совместно, почти не влияет на
взаимное электрическое демпфирование громкоговорителей. Эта несколько
неожиданная особенность легко доказывается рис. 14, на котором изображена
эквивалентная схема включения громкоговорителей в выходном каскаде усилителя.
Для упрощения объяснения примем условие, что внутреннее (выходное)
сопротивление усилителя почти равно нулю. Сила, действующая на звуковую
катушку, пропорционально току. Тормозящее усилие вызывается током i, создаваемым
индуктированной в катушке э.д.с. е, и рассматривается в момент
прекращения импульса сигнала U с=0; громкоговорители включены синфазно,
сопротивление звуковой катушки r.
В схеме с последовательным соединением громкоговорителей (рис. 14, а) сила индуктированного тока будет:
![]()
а в схеме (рис. 14, б) в каждой параллельной ветви i = e / r
т. е. индуктированные токи в звуковых катушках и, следовательно, демпфирующие усилия одинаковы при обоих способах соединения громкоговорителей.
Этот вывод, однако, справедлив полностью лишь при равенстве основных резонансных частот громкоговорителей. При их различии может появиться некоторый сдвиг фаз между индуцированными в катушках э. д. с. и сумма их не будет равна 2е. Поэтому в тех случаях, когда основные резонансные частоты громкоговорителей не одинаковы, предпочтительнее, в отношении демпфирования, параллельное их соединение.

Рис. 15. Воспроизведение громкоговорителями прямоугольных импульсов с частотой заполнения 90, 150, 1700 и 3500 Гц.
а — в ящике без акустического демпфирования;
6 — то же с демпфированием
Есть еще один способ эффективного демпфирования громкоговорителя — акустический; он связан с излучением звука. Демпфирование производится с помощью пористого звукопоглощающего материала, например ваты или очесов, которым заполняется закрытый ящик с громкоговорителем, а чтобы вата не прикасалась к диффузору, громкоговоритель прикрывают несколькими слоями марли. Звукопоглощающий пористый материал вносит активное сопротивление (потери) в колебания слоя воздуха, который колеблется вместе с диффузором. Через колеблющийся воздух затухание вносится во все звенья механико-акустической системы громкоговорителя. Акустическое демпфирование эффективно действует от самых низких звуковых частот до 4—5 кГц, обеспечивая хорошие переходные характеристики громкоговорителя.
На рис. 15 для иллюстрации эффективности акустического демпфирования проводятся осциллограммы звуковых импульсов с периодом 40 мсек, воспроизводимых двумя недемпфированными громкоговорителями 8ГД-РРЗ (рис. 15, а) и после их акустического демпфирования, т.е. заполнения ящика объемом 80 л ватой (рис. 15 б), Хорошо видно, как демпфирование устраняет переходные процессы и этим придает воспроизводимым импульсам правильную форму. Однако такое демпфирование обладает существенным недостатком: оно снижает звуковое давление, развиваемое громкоговорителем в области основного резонанса. Для восстановления этого спада в частотной характеристике демпфированного громкоговорителя усилитель должен иметь подъем в области низших частот и поэтому мощность, в 12—15 раз большую, чем при недемпфированном громкоговорителе. Вследствие указанной особенности акустически демпфированные громкоговорители используются только в качестве контрольных в студиях звукозаписи и радиовещания.
Некоторое демпфирующее действие на громкоговоритель оказывает также сопротивление излучения. Степень этого демпфирования зависит от акустического оформления громкоговорителя.
5. ОПИСАНИЕ ТИПИЧНЫХ КОНСТРУКЦИЙ ГРОМКОГОВОРИТЕЛЕЙ
Диффузорные громкоговорители прямого излучения. Наиболее простая конструкция диффузорного электродинамического громкоговорителя с круглым диффузором и кольцевым магнитом из никель-алюминиевого сплава показана на рис. 3. Эта конструкция получила наибольшее распространение. На рис. 16,а представлен также широко используемый в телевизорах, магнитофонах и громкоговорителях громкоговоритель с эллиптическим диффузором и керновым магнитом из сплава, содержащего кобальт (ЮНДКА-24). Этот громкоговоритель отличается малым внешним магнитным полем и более удобной формой. Такие же громкоговорители могут быть с диффузором, имеющим криволинейную образующую, что улучшает воспроизведение звуков высших частот и уменьшает нелинейные искажения, вызываемые деформацией диффузора. Криволинейная образующая является либо экспонентом, либо дугой окружности. На рис.16,б представлена модель громкоговорителя 2ГД-22, который можно считать «сверховальным»; модель позволяет еще более экономно использовать объем телевизора, магнитофона и других устройств, ограниченных габаритами.
На рис. 16,в показан громкоговоритель с плоским кольцевым магнитом, прессованным из керамики феррит-бария (4ГД-28), который отличается от громкоговорителя, изображенного выше, главным образом конфигурацией магнитной системы. Применение магнита из феррит-бария позволило создать громкоговоритель весьма небольшой высоты. Стоит упомянуть о самой плоской конструкции громкоговорителя, у которого магнитная система помещена внутри диффузора. Этот тип громкоговорителя более сложен в производстве и обладает несколько менее гладкой частотной характеристикой в области частот выше 2 кГц, чем громкоговоритель с обычным расположением магнитной системы.

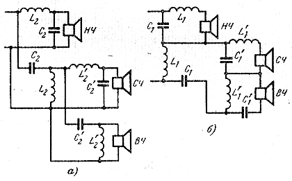
Громкоговоритель с двумя диффузорами лучше воспроизводит звуки высших частот (до 18—20 кГц). Наличие второго диффузора несколько повышает вес подвижной системы и приводит к снижению основной резонансной частоты и уменьшению нижней границы полосы воспроизводимых частот. Эффективным средством улучшения воспроизведения звуков высших частот является двухполосный комбинированный громкоговоритель, он представляет собой объединение в одной коаксиальной конструкции двух узкополосных громкоговорителей, каждый из которых воспроизводит часть широкого диапазона частот; для этого оба громкоговорителя (или только высокочастотный) присоединяются к усилителю через фильтр, который защищает от перегрузки и искажений высокочастотную головку.
На рис. 17, а представлен такой коаксиальный громкоговоритель, у которого внутри большого диффузора, принадлежащего низкочастотному громкоговорителю, установлен с помощью перекладины (мостика) малогабаритный высокочастотный громкоговоритель.

Задняя сторона диффузора высокочастотной головки во избежание воздействия на нее излучения низкочастотного громкоговорителя и появления искажений должна быть закрыта замкнутым кожухом. Как и все двухполосные громкоговорители, коаксиальный громкоговоритель обладает более гладкой частотной характеристикой, обычно свойственной узкополосным громкоговорителям. Благодаря тому что высокочастотный громкоговоритель имеет диффузор малой площади, коаксиальные громкоговорители имеют расширенную характеристику направленности.
Еще более широкая характеристика направленности получается у коаксиального громкоговорителя, показанного на рис. 17, б, имеющего два высокочастотных громкоговорителя, установленных под углом друг к другу. Высокочастотные громкоговорители могут крепиться либо к керну низкочастотного громкоговорителя, либо к его диффузородержателю. Выпускаются также двухполосные коаксиальные громкоговорители, у которых диффузорный высокочастотный громкоговоритель заменен рупорным. В некоторых конструкциях применяется многоячейковый рупор с выходными отверстиями, расположенными по сферической поверхности. Этим обеспечивается еще более широкая характеристика направленности громкоговорителя на высших частотах. В других конструкциях коаксиального громкоговорителя рупором высокочастотного громкоговорителя служит диффузор низкочастотного громкоговорителя с криволинейной образующей (рис. 18).

Рис. 18. Двухполосный коаксиальный громкоговоритель с рупором, образованным низкочастотным диффузором.
1 — высокочастотная часть громкоговорителя; 2 — низкочастотный громкоговоритель.
В обеих указанных конструкциях коаксиального громкоговорителя высокочастотная головка (часть) помещается за магнитной системой низкочастотной части и рупор проходит через керн последнего либо в нем сделано конусное отверстие, которое используется как часть рупора.
Наиболее сложным по конструкции и дорогим является трехполосный коаксиальный громкоговоритель, показанный на рис. 19.

Рис. 19. Трехполосный коаксиальный громкоговоритель,
1 — низкочастотная головка; 2 — рупор среднечастотной головки; 3 — головка высокочастотного громкоговорителя.
Он состоит из диффузорной низкочастотной головки, рупорной среднечастотной головки и рупорной же или диффузорной высокочастотной головки, установленной внутри диффузора низкочастотной головки. Из рис. 19 видно, что над диафрагмами высокочастотной и среднечастотной головок помещены противоинтерференционные вкладыши в виде тела вращения (усеченного конуса). Назначение этого вкладыша — ослабить интерференционные явления, наличие которых ухудшает равномерность воспроизведения высших частот.
При отсутствии вкладыша интерференционные явления усиливаются ввиду различной длины путей от различных участков диафрагмы до входного отверстия рупора. Вкладыши уравнивают длину пути от центра диафрагмы и от ее краев и тем самым уменьшают сдвиг фаз между звуковыми давлениями, создаваемыми различными участками диафрагмы.
Противоинтерференционный вкладыш может иметь несколько сквозных отверстий, расположенных по его длине, под небольшим углом к его оси, как это сделано в громкоговорителе, показанном на рис. 18, но принцип действия вкладыша остается тем же.
По избежание перекосов диффузородержатель коаксиальных громкоговорителей должен быть особенно жестким Обычно у таких громкоговорителей диффузородержатели делают литыми и усиливают ребрами жесткости. Все двух- и трехполосные громкоговорители включаются через разделительные фильтры, о которых будет сказано ниже.

Звуковые колонки и радиальные громкоговорители. За последнее десятилетие для звуковоспроизведения и звукоусиления стали широко использовать групповые громкоговорители в виде звуковых колонок и радиальных громкоговорителей. Звуковая колонка представляет собой деревянный или металлический закрытый ящик прямоугольной или цилиндрической формы, в котором установлены в один или два ряда 5—12 включенных синфазно диффузорных громкоговорителей (рис. 20). Вертикально расположенная цепочка громкоговорителей обладает малой направленностью излучения в горизонтальной плоскости, соответствующей одной головке, и значительно большей направленностью в вертикальной плоскости. Для еще большего расширения характеристики направленности в горизонтальной плоскости головки устанавливают в два ряда под углом 60o один к другому или с развернутыми на 30o осями смежных головок в случае одного ряда в колонке, как это показано на рис. 21.

Чтобы устранить слишком большую направленность излучения в вертикальной плоскости частот выше 3 кгц, эквивалентную эффекту фокусировки, применяют расположение цепочки головок громкоговорителей по дуге радиусом, равным двойной высоте колонки - 3 м (рис. 22, а). В этом случае характеристика направленности излучения для частоты 4 кгц охватывает даже более широкий угол, чем для 1 кгц (рис. 22,6), в противоположность тому, что имеет место у прямых колонок. Другим групповым излучателем являются радиальные громкоговорители. Их характеристика направленности представляет собой окружность. Первым радиальным громкоговорителем, выпущенным у нас, был двухполосный громкоговоритель ДГР-25, которыми оборудована система звукоусиления на ВДНХ в Москве. Он состоит из низкочастотной головки, установленной аксиально в верхней части громкоговорителя и излучающей через короткий направляющий рупор, и трех высокачастотных головок, установленных наклонно в нижней части громкоговорителя под углом 120° друг к другу в горизонтальной плоскости.

Выпущенные позже радиальные громкоговорители 10ГДН-1и 25ГДН-1 (рис. 23) имеют одинаковую, более простую конструкцию, в которой четыре широко полосные головки установлены внутри круглого металлического кожуха, симметрично по окружности под углом 35° к оси громкоговорителя. Для улучшения равномерности характеристики направленности на высших частотах под кожухом с головками имеется специальный отражатель (рассеиватель). Следует отметить, что и звуковая колонка может быть хорошим радиальным громкоговорителем в том случае, если она содержит три-четыре вертикальных ряда громкоговорителей, развернутых по окружности так, что угол между осями головок равен 120° для трех рядов головок и 90°—для четырех.
Рупорные громкоговорители. Этот тип громкоговорителя получил значительное распространение в мощных системах звукоусиления и оповещения на больших открытых пространствах (площадях, улицах). Низкий к. п. д. громкоговорителей привел бы в этих случаях к существенному увеличению затрат на установку усилителей и на их эксплуатацию. Благодаря применению рупора — трубы с непрерывно возрастающим сечением, улучшается согласование между относительно высоким механическим сопротивлением подвижной системы головки и довольно низким сопротивлением нагрузки воздушной среды, характеризуемым сопротивлением излучения. Рупор увеличивает сопротивление излучения и значительно повышает к. п. д. громкоговорителя. Существует несколько форм рупора, однако наибольшее распространение получил экспоненциальный рупор, в котором площадь поперечного сечения возрастает по экспоненциальному закону
S = S0eβx
где So — площадь поперечного сечения начала рупора (горла);
β — коэффициент расширения; x - координата, отсчитываемая вдоль оси рупора от его начала (горла) к устью.
Рупор, подобно электрическому фильтру верхних частот, характеризуется низшей пропускаемой частотой, называемой критической, которая зависит от коэффициента расширения рупора. Для эффективного воспроизведения низших звуковых частот рупор должен быть значительных размеров, что и является его главным недостатком. Поэтому в настоящее время рупорные громкоговорители находят широкое применение главным образом в качестве высокочастотных звеньев («пищалок») и двух- и трехполосных акустических агрегатах, так как для воспроизведения высших частот размеры рупора и всего громкоговорителя должны быть небольшими.
Однако укороченный широкогорлый рупор, называемый также направляющим, не имеет недостатка, свойственного обычным рупорам большой длины. Он широко применяется в радиальных, кинотеатральных и в уличных громкоговорителях, но в последних — часто в сложенном виде, когда одна его часть помещается в другой. Примером этому являются громкоговорители 10ГРД-5 и Р-100.

Следует отметить, что сложенный рупор, как показали практические испытания, хуже воспроизводит звуковые составляющие высших частот из-за потерь при отражениях звука на изгибах рупора. Поэтому в широкополосных громкоговорителях для высококачественного звуковоспроизведения сложенный рупор не применяется. Широкогорлый рупор можно увидеть в кинотеатральном высококачественном двухполосном громкоговорителе 30А-2 (рис. 24). В этом громкоговорителе, помимо короткого широкогорлого направляющего рупора, для улучшения воспроизведения низших частот используют фазоинвертор, два отверстия которого расположены рядом с рупором. Сверху низкочастотного громкоговорителя установлены высокочастотные головки с рассеивающей звук линзой.

Рис. 25. Разрез конструкции «земляного» громкоговорителя.
1 — громкоговоритель; 2— направляющая конус: 3-— крышка; 4 — бетонная стенка волновода; 5 — земля; 6 — крышка с прорезями; 7 —труба для стока воды; 8— направляющий рупор.
В заключение раздела познакомимся с конструкцией так называемого «земляного» громкоговорителя мощностью 25 вт (рис. 25). Этот громкоговоритель находит применение на стадионах и в других подобных местах, где по архитектурным или другим соображениям установка его на столбах нежелательна. Сложность конструирования таких громкоговорителей заключается в защите громкоговорящей головки от дождя и сточной воды. Это сравнительно просто решается тем, что звук излучается головкой через направляющий рупор, а вода, попадающая в него, не может достигнуть головки благодаря имеющимся отверстиям, через которые она стекает в землю или канализацию.
Отсутствие направленности излучения в горизонтальной плоскости у «земляного» громкоговорителя привело к тому, что на основе его конструкции недавно в США был создан мощный радиальный громкоговоритель с направляющим рупором из бетона (рис. 26).
Поскольку на высших частотах увеличивается направленность излучения, то для расширения характеристики направленности в высокочастотных рупорных громкоговорителях («пищалках») с успехом применяются два средства. Первое средство, более старое, состоит в секционировании рупора, в результате чего он превращается в пучок примыкающих друг к другу рупоров меньшего сечения, оси которых криволинейны и располагаются веером (рис. 27, а).
Принцип действия такого устройства заключается в том, что хотя направленность излучения каждой секции рупора вдоль оси возрастает на высших частотах, благодаря тому, что оси отдельных рупорных секций развернуты веером, их излучение направлено в пределах более широкого угла, образуемого веером осей. Поэтому угол раствора характеристики направленности громкоговорителя практически не зависит от частоты, так как он определяется пространственным расположением отдельных секций рупора. Это эквивалентно излучению группы отдельных громкоговорителей, расположенных рядом на сферической поверхности так, что их оси, сходящиеся в центре сферы, образуют одинаковые острые углы одна с другой.
Другим эффективным средством ослабления направленности рупора громкоговорителя является акустическая линза (рис. 27,6), более простая в изготовлении, чем секционированный многоячеечный рупор. Принцип действия акустической линзы подобен действию оптических рассеивающих линз, преобразующих распространяющуюся вдоль оси плоскую волну в сферическую или цилиндрическую.

Различие между оптическими и акустическими линзами состоит в том, что оптическая линза преобразует плоскую волну, изменяя ее скорость при прохождении сквозь линзу и тем более, чем длиннее ее путь в линзе. Изменение скорости волны в линзе обусловлено ее материалом (стеклом), в котором скорость распространения света меньше, чем в воздухе. В акустической линзе скорость звука везде одинакова и преобразование волны происходит вследствие различия длины путей волн, проходящих через линзу в центре и на периферии. Изменение длины путей волн в акустической линзе осуществляется наклонными каналами или щелями, удлиняющими путь звуковой волны, создаваемой громкоговорителем.
В зависимости от осевой симметрии линзы и ее положения в пространстве можно расширить характеристику направленности рупорного громкоговорителя как в горизонтальной, так и в вертикальной плоскостях или только в одной из них.
6. ВЛИЯНИЕ ПОМЕЩЕНИЯ И РАСЧЕТ НЕОБХОДИМОЙ МОЩНОСТИ ГРОМКОГОВОРИТЕЛЯ
Акустические особенности помещения, где осуществляется воспроизведение звука, оказывают влияние па частотную характеристику звукового давления, а следовательно, и на качество воспроизведения. Одна и та же аппаратура будет звучать по-разному в различных помещениях. К акустическим особенностям относятся: форма помещения, его объем и коэффициенты поглощения звука ограждающих помещение поверхностей (потолка, пола, стен). Так, например, шторы, ковры, мягкая мебель и т. п. обладают большим коэффициентом звукопоглощения, тогда как гладкий потолок и стены весьма мало поглощают звук и в значительной степени его отражают. Открытое окно является идеальным звукопоглотителем. Звукопоглощение А пропорционально площади поглотителя S и его коэффициенту звукопоглощения α
A = α · S
Всякое помещение (зал, аудитория, комната) представляет собой достаточно сложную акустическую систему, обладающую рядом собственных резонансных частот. При возбуждении в помещении каких-либо звуков, содержащих составляющие таких же частот, возникают резонансные колебания воздуха внутри помещения. Такое явление приводит к усилению звуков этих частот и изменению спектрального состава звукового сигнала, т.е. к изменению тембра.
Стоячие волны в помещении сильно нарушают равномерность звукового поля, так как появляются места с максимальным и минимальным звуковым давлением (пучности и узлы). Стоячие волны образуются не только между парами параллельных поверхностей, ограничивающих помещение, но и в других сочетаниях, имеющих место при косых направлениях распространения звуковых волн.
Однако первый тип колебаний (осевые моды) имеет наибольшее значение в деле формирования звукового поля в помещении, особенно малых размеров. Первая (осевая) частота собственных колебаний, возникающих между параллельными поверхностями, равна fp 1 =168/l, гц, где l — расстояние между ограничивающими поверхностями, м.
Гармонические составляющие этой частоты, кратные ей, будут в 2, 3 и т. д. раза больше. Таким образом, самая низкая частота собственных колебаний определяется наибольшим размером помещения (обычно длиной). Например, собственная частота при наибольшем расстоянии между стенами около 3,4 м составляет 50 гц. Самым неудачным по форме помещением для прослушивания является куб, так как у него во всех трех направлениях будет одинаковая основная резонансная частота и кратные ей частоты (гармоники). Итак, в любом помещении существует множество собственных колебаний, при этом в области, начинающейся с самой низшей собственной частоты, плотность спектра собственных колебаний сравнительно небольшая, но резко увеличивающаяся с повышением частоты. Поэтому начиная уже с частоты 150—200 гц для не очень малых помещений плотность спектра собственных колебаний настолько велика, что явление резонанса становится мало заметным. Большое помещение является более благоприятным для звуковоспроизведения, так как его основные резонансные частоты с увеличением размеров понижаются и оказываются за пределами рабочего диапазона частот, а гармоники благодаря большому их числу образуют почти сплошной спектр и не подчеркивают звуков отдельных частот. Желательно чтобы объем помещения, в котором осуществляется звуковоспроизведение, был не менее 42 м3, а один из линейных размеров был не менее 5 м.
Эффективным средством, улучшающим прослушивание, является наличие в помещении поглотителей звука, уменьшающих время реверберации. В театрах, кино, концертных залах применяются звукопоглотители, которыми покрывают потолок и верхнюю часть стен.
В домашних условиях звук поглощается мягкими вещами, включая и мебель. Конечно, и сами слушатели оказываются в роли звукопоглотителей и от их количества зависит степень поглощения в помещении. Для домашнего монофонического прослушивания считается подходящей комната с временем реверберации порядка 0,7— 0,9 сек (для стереофонического 0,4—0,5 сек). При этом чем больше объем комнаты, тем большим может быть время реверберации при сохранении хороших условий для звуковоспроизведения. На рис. 28 представлена зависимость наивыгоднейшего (оптимального) времени реверберации помещения от его объема. Для наглядного представления зависимости звукового давления, создаваемого громкоговорителем в помещении (в точке расположения измерительного микрофона), на рис. 29 приведены частотные характеристики одного и того же высококачественного громкоговорителя, измеренные в комнате и звукомерной (заглушенной) камере. Как видно, в обычной комнате (пунктирная кривая) на частотах ниже 400 гц характеристика весьма неравномерна, тогда как в звукомерной камере, где все ограждающие поверхности обладают большим коэффициентом звукопоглощения, характеристика (сплошная кривая) сглаживается. Вид частотной характеристики, снятой в комнате, сильно зависит от места установки микрофона или расположения громкоговорителя. На рис. 30 показаны частотные характеристики громкоговорителя в фазоинверторе, измеренные в области самых низких частот в открытом пространстве, что соответствует условиям звукомерной камеры 1, в жилой комнате у стены 2 и в углу 3. На рисунке видно, что в помещении возрастает уровень звукового давления, развиваемого громкоговорителем, причем установка его в углу комнаты повышает излучение низших частот приблизительно на 4 дб.

Рис. 28. Зависимость оптимального времени реверберации помещения от его объема.

Рис. 29. Частотные характеристики громкоговорителя, снятые в обычной комнате (пунктир) и в звукомерной камере (сплошная). По вертикальной оси отложены значения уровня звукового давления в децибелах.

Рис. 30. Зависимость уровня звукового давления (дб), развиваемого громкоговорителем на низших частотах, от места его расположения.
1 — в открытом пространстве; 2 — в комнате у стены; 3 — в углу.
Выбор громкоговорителя должен начинаться с определения его номинальной мощности, которая в свою очередь совместно с к.п.д. укажет и мощность выходного каскада усилителя низкой частоты.
Номинальная мощность громкоговорителя должна обеспечивать воспроизведение без его перегрузки, а следовательно, без заметного увеличения искажений, пиковых уровней наиболее громких видов передач, к которым относятся оркестры. Пиковые уровни на 6—9,5 дб превышают среднеквадратичные (эффективные) значения уровня передачи. Конечно, звуковоспроизводящая установка может быть сделана с некоторым запасом по мощности. Однако значительное завышение мощности установки (усилителя и громкоговорителей) ведет к ее удорожанию и особенно к увеличению стоимости эксплуатации.
Чем больше объем помещения, в котором должна работать звуковоспроизводящая установка, и чем больший уровень громкости желают установить при прослушивании, тем большей должна быть номинальная мощность установки. Помимо объема помещения, мощность усилителя зависит от к.п.д. применяемых громкоговорителей, а также от среднего коэффициента звукопоглощения помещения. В расчете принимается оптимальное время реверберации, при котором получается наилучшее звучание.
Если предположить равномерное распределение плотности звуковой энергии по помещению, то полная акустическая мощность источника звука выразится формулой
![]()
где p — эффективное значение звукового давления, дин/см2; A — полное звукопоглощение
в помещении, выражаемое площадью идеального поглотителя звука (открытое окно),
см2;
— плотность воздуха, равная
0,0012 г/см3; c — скорость звука, равна
344*102 см/сек.
Полное звукопоглощение помещения А связано с его объемом V П и временем реверберации Т
![]()
Подставив в формулу для акустической мощности известные данные, выражение для А, и выразив мощность в ваттах, получим:
![]()
Для того чтобы определить требующуюся номинальную мощность громкоговорителя и усилителя вводим в эту формулу к.п.д. громкоговорителя η, тогда окончательная расчетная формула для определения электрической мощности усилителя и громкоговорителей будет иметь вид:
![]()
Для большего удобства в определении необходимой мощности на рис. 31 приводятся расчетные номограммы в виде четырех наклонных прямых. С их помощью может быть найдена необходимая электрическая мощность усилителя и громкоговорителей, требующаяся для озвучивания помещения объемом в пределах от 20 до 300 м3. Номограммы для расчета электрической мощности сделаны для двух уровней звуковоспроизведения, соответствующих звучанию большого оркестра из 75 человек, с уровнем звукового давления 96 дб (эффективное звуковое давление 1,25 н/м2) и оркестра из 18 человек с уровнем 86 дб (эффективное звуковое давление 0,4 н/м2). В связи с тем что пиковое звуковое давление в 2— 3 раза больше эффективного, расчет номограмм проведен для обоих этих возможных пиковых значений.

Рис. 31. Номограммы для расчета мощности громкоговорителя и усилителя в зависимости от объема помещения и уровня интенсивности звука.
1, 2 — для уровня интенсивности звука (большого оркестра (75 человек); 3, 4 — для уровня интенсивности звука малого оркестра (18 человек).
Оптимальное время реверберации для помещений различных объемов показано на рис. 28. Коэффициент полезного действия громкоговорителя принят равным 1% (η = 0.01). Эта величина может считаться гарантированной для большинства типов выпускаемых громкоговорителей, хотя, вероятно, часть из них (более мощных) обладает немного большим КПД. Использование в звуковоспроизводящей установке лучших громкоговорителей, чем это принято в расчете, приведет к образованию некоторого запаса по мощности.

Рис. 32. Зависимость относительных мощностей низко- и высокочастотной головок от частоты раздела.
В зависимости от объема помещения и желаемого уровня воспроизводимого звука (оркестр из 18 или 75 человек) требующаяся мощность громкоговорителя будет находиться между значениями, указываемыми двумя наклонными прямыми, относящимися к уровням интенсивности звука, соответствующим большему или меньшему оркестру.
Нижняя прямая в каждой паре (2 и 4) указывает минимальную необходимую мощность, так как она относится к удвоенным значениям звукового давления при пиках передачи (уровни интенсивности звука 92 и 102 дб) и соответствует четырехкратному запасу мощности. Верхняя прямая (1 и 3) указывает максимальную необходимую мощность, так как она относится к утроенным значениям звукового давления при пиках передачи (уровни 95,5 и 105,5 дб) и соответствует девятикратному запасу мощности. Например для звуковоспроизведения в комнате объемом 51 м3 (площадь 17 м2, высота 3 м) при уровне интенсивности звука, соответствующем большому оркестру, требуется громкоговоритель и усилитель мощностью от 3,7 до 8,3 вт или, округляя, от 4 до 10 вт.
В том случае, когда время реверберации в помещении меньше оптимального, уровень интенсивности звука также будет несколько меньшим. Влияние увеличения звукопоглощения в комнате и соответствующего уменьшения времени реверберации можно оценить, открыв во время работы громкоговорителей окна, конечно, если площадь последних не менее 2—3 м2. Рассчитанная мощность относится к широкополосному громкоговорителю. Если же будет использоваться двух- или трехполосная система, то мощность низкочастотной и высокочастотной головок в зависимости от частоты раздела может быть определена по кривим рис. 32, построенным по указанным выше данным распределения текущей мощности натуральных звучаний на выходе НЧ и ВЧ фильтров. Мощность узкополосных головок определяется умножением мощности широкополосного громкоговорителя на величину относительной мощности, указываемой кривыми для выбранной частоты раздела.
7. ВНЕШНЕЕ (АКУСТИЧЕСКОЕ) ОФОРМЛЕНИЕ ГРОМКОГОВОРИТЕЛЯ
Для защиты головки громкоговорителя от повреждений и обеспечения воспроизведения громкоговорителем области низшихчастот она обычно используется с внешним оформлением, часто называемым акустическим в связи с его влиянием на частотную характеристику громкоговорителя. Выясним более подробно эту роль оформления.
При работе громкоговорителя его диффузор совершает колебания вперед и назад с различными амплитудами в соответствии с величиной и направлением тока, проходящего через звуковую катушку. Двигаясь вперед, диффузор сжимает воздух перед собой и разрежает его позади себя. В результате этих сжатий и разрежений воздуха создаются звуковые волны распространяющиеся со скоростью приблизительно 340 м/сек, Однако звуковые волны от передней и задней сторон диффузора (вследствие того, что одна создается сжатием, а другая — разрежением воздуха) различаются но фазе на 180o, что соответствует разности в половину длины излучаемой волны.
Если в точку пространства, где прослушивается звук, придут обе волны — прямая и оборотная (от задней стороны диффузора), то, взаимодействуя одна с другой, они почти полностью уничтожатся и звук будет резко ослаблен. При этом вместо того, чтобы возбуждать звуковые волны, диффузор будет перегонять воздух с одной своей стороны на другую (такой эффект называют не совсем точно акустическим коротким замыканием).
Акустическое короткое замыкание проявляется только в области самых низких звуковых частот (приблизительно ниже 300 гц), при которых размеры диффузора малы по сравнению с длинами этих волн. Для более высоких звуковых частот, у которых длина волны меньше, отрицательное воздействие оборотной волны ослабляется самим диффузором.
Пусть, например, громкоговоритель излучает звук частотой f=500 гц; длина волны звука этой частоты
![]()
Если полный диаметр громкоговорителя равен 32 см, то до прихода в точку прослушивания, находящуюся на оси громкоговорителя (линия, проходящая через центр диффузора), волна от задней стороны диффузора должна будет пройти путь, приблизительно на 26 см больший, чем волна от передней его стороны (рис. 33).

Рис. 33. Интерференция между звуковыми волнами от передней и задней сторон диффузора.
Это означает, что звуковая волна от задней стороны диффузора придет в точку приема с дополнительным сдвигом фазы, который будет определяться отношением разности длины путей от передней и задней сторон диффузора к длине полны. В нашем примере разность длины путей составляет 26 см, а длина волны звука (частота 500 Гц) равна 68 см. Следовательно, дополнительный сдвиг фазы:
φдоп = 26 / 68 ≈ 0.4λ
Поскольку звуковая волна от задней стороны диффузора всегда сдвинута по фазе на 0.5 X, результирующий сдвиг
фазы рассматриваемой волны по отношению к волне от передней стороны диффузора
составит φобщ = 0.4λ + 0.5λ = 0.9λ. Это означает, что
волны от обеих сторон диффузора придут в точку приема почти в одинаковой фазе
(сдвиг фазы будет 0.1 · λ) и сложатся, в результате чего
звуковое давление возрастет. Для звука частотой 50 гц (λ = 680 см) при том же диаметре диффузора создается условие, при котором сдвиг фазы вследствие огибания диффузора составит всего лишь φдоп = 26 / 680 ≈ 0.04λ , т.е.
φобщ = 0.04λ + 0.5λ = 0.54λ
При таком сдвиге фазы энергии звуковых волн от обеих сторон диффузора будут вычитаться одна из другой и звуковое давление резко упадет.
Из разобранного примера следует, что если общий сдвиг фазы волны от задней стороны диффузора в точке приема звука равняется целому числу длин волн (1 λ, 2 λ, 3 λ и т.д.), то энергия этой волны будет складываться с энергией волны от передней стороны диффузора и звук будет усиливаться. Если же сдвиг фазы равен нечетному числу полуволн (0.5 λ, 1.5 λ, 2.5 λ и т.д.), то энергии волн будут вычитаться и звук будет ослабляться.
Вычитание и сложение энергий звуковых волн различных частот в точке их приема создают максимумы и минимумы (подъемы и провалы) звукового давления. Такое взаимодействие волн (интерференция) может происходить не только между волнами от передней и задней сторон диффузора, но и от волн, приходящих в точку приема после отражения от какой-либо из ограждающих поверхностей. Именно поэтому частотные характеристики громкоговорителей измеряют или на открытом пространстве или в заглушенных помещениях, внутренние поверхности которых плохо отражают звуковые волны.
Если имеется интерференция между звуковыми волнами от передней и задней сторон диффузора, то наибольшая неравномерность частотной характеристики звукового давления будет наблюдаться вдоль оси громкоговорителя при наличии его симметрии (осевой). Это происходит потому, что сдвиг фазы звуковой волны за счет огибания будет примерно одинаковым вокруг всего громкоговорителя.
В стороне от оси громкоговорителя, из-за различия в длине пути для волн от различных частей диффузора до точки прослушивания, сдвиг фазы оборотной волны также оказывается различным. В результате этого подъемы и провалы в частотной характеристике развиваемого громкоговорителем звукового давления сглаживаются, и характеристика получается более ровной.
Чтобы устранить крайне нежелательное явление интерференции волн низших частот от передней и задней сторон диффузора, применяют различные виды внешнего оформления громкоговорителей: щит (акустический экран), открытый или закрытый ящик, фазоинвертор, акустический лабиринт, направляющий рупор.
Внешнее оформление эффективно только при наличии громкоговорителя, способного воспроизвести низшие частоты, т. е. с низкой частотой основного резонанса. Для громкоговорителей, предназначенных для карманных радиоприемников, у которых основная резонансная частота высока, акустическое оформление неэффективно.
Акустический экран. Наиболее простым видом оформления громкоговорителя является акустический экран, представляющий собой чаще всего деревянный щит прямоугольной формы, размеры которого для воспроизведения низших частот должны быть довольно большими. Например, для воспроизведения без ослабления звука частотой 50 гц, длина волны котороя равна 680 см, необходимо, чтобы сторона экрана приблизительно равнялась 340 см (половине длины волны) или больше. Однако вполне удовлетворительные результаты, особенно если частотная характеристика усилителя имеет подъем на низших частотах, могут быть получены со щитом меньшего размера, сторона которого приблизительно равна четверти длины волны низшей воспроизводимой частоты. Эта низшая частота, однако, не может быть ниже основной резонансной частоты громкоговорителя, так как ниже этой частоты резко падает излучение громкоговорителя (18 дб на октаву).
Симметричность крана относительно оси диффузора нежелательна, так как при этом в частотной характеристике громкоговорителя появится глубокий провал и результате акустического короткого замыкания на одной из частот. Значительное улучшение частотной характеристики достигается или несимметричным экраном, или асимметричным расположением громкоговорителя в экране правильной формы.
В настоящее время этот простейший вид оформления громкоговорителей почти не применяется, главным образом, из-за его громоздкости и недостаточной эстетичности. Установка щита с громкоговорителем в углу комнаты (рис. 34) позволяет уменьшить размеры щита без ухудшения воспроизведения звуков низших частот, так как стены, образующие угол, служат продолжением экрана, увеличивая его эффективные размеры. Щит, предназначенный для этого, следует подвесить в верхнем углу комнаты, придав ему форму треугольника или трапеции. Между верхней кромкой щита и потолком необходимо оставить широкую щель, а пространство позади громкоговорителя рекомендуется заполнить звукопоглощающим материалом. Сам же громкоговоритель полезно обернуть одним-двумя слоями неплотной ткани {например, марли и т. п.), предохраняющей от попадания пыли в подвижную систему. Весьма эффективным экраном может служить дверь в соседнюю комнату, перегородка (стена) между комнатами, натолок, задняя сторона письменного стола и т. п. Щит может иметь небольшие размеры (сторона 40—50 см), если установленный в нем громкоговоритель должен воспроизводить частоты выше 150— 200 гц. Такое положение часто существует в стереофоническом звуковоспроизведении, при котором обычно звуки низших частот воспроизводятся одним общим громкоговорителем, а звуки средних и высших частот— двумя каналами звуковоспроизведения. В этом случае на двух щитах устанавливаются среднечастотные и высокочастотные громкоговорители правого и левого каналов. Задние стороны диффузоров этих громкоговорителей во избежание нежелательного излучения звука закрываются кожухом, заполненным звукопоглотителем (см. ниже). Щиты обтягиваются с обеих сторон неплотной декоративной тканью и устанавливаются в наклонном положении на полу с помощью одной подпорки на каждом щите (подобно тому, как это сделано в рамках для настольных фото, зеркалах и т. п.).

Рис. 34. Внешний вид щита с громкоговорителем, подвешенного в углу комнаты.
Более удобным, чем акустический экран, для размещения громкоговорителя является ящик с открытой задней стенкой. Он эквивалентен плоскому экрану, если площадь последнего равна общей площади всех поверхностей ящика, кроме задней стенки, и если глубина ящика не превышает 1/8 наибольшей волны. Ящик с открытой задней стенкой представляет собой своеобразный резонатор Гельмгольца, резонансная частота которого
,
где fЯ — резонансная частота ящика, гц; S — площадь заднего отверстия ящика, см2; V — объем ящика, см3.
Эксперименты с различными ящиками и головками показали, что наилучшее воспроизведение низших частот получается, если резонансная частота ящика в 1,5—2 раза больше частоты основного резонанса громкоговорителя. Если же эти частоты отличаются между собой в значительно большее число раз, то ухудшается частотная характеристика громкоговорителя в области низших частот и звук становится бубнящим. В связи с этим рекомендуется, выбрав размеры ящика с открытой задней крышкой, определить по приведенной формуле его резонансную частоту и соотношение с частотой основного резонанса головки.
Ящики с открытой задней стенкой имеют сейчас очень широкое распространение. Все приемники, телевизоры, радиолы, абонентские громкоговорители и т.п. представляют собой такой ящик.
В наших лучших радиолах «Симфония», «Ригонда» и других уже используют вынесенные громкоговорители. За границей в подавляющем числе случаев также используют радиоприемники без УНЧ и громкоговорителя (так называемые «тьюнеры» — «настройщики»), а мощный УНЧ и громкоговоритель являются отдельными блоками.
Наиболее перспективным видом внешнего оформления громкоговорителей следует считать закрытый ящик и фазоинвертор, ибо только с их помощью можно при относительно небольших габаритах обеспечить хорошее воспроизведение звуков самых низших частот (30—70 гц).
Закрытый ящик. Закрытая задняя стенка, на первый взгляд, должна улучшить воспроизведение низших частот тем, что исключается излучение задней стороны диффузора, именно поэтому за рубежом этот вид оформления часто называют «бесконечным экраном». Однако упругость находящегося в ящике объема воздуха, особенно если этот объем не слишком велик (меньше 1 м3), складывается с упругостью подвижной системы громкоговорителя и повышает его основную резонансную частоту, чем ухудшает отдачу на низших частотах. Зависимость новой частоты основного резонанса громкоговорителя в ящике может быть определена из выражения

где f ' p — новая частота
основного резонанса, гц; fp — частота основного
резонанса громкоговорителя (без ящика), гц; р — плотность воздуха, равная
при 20° С и атмосферном давлении 1,2 кг/м3; c — скорость звука в
воздухе, равняя 344 м/ ce к; S ДИФ — площадь излучающей
части диффузора (эффективная площадь), приблизительно равная
; R диф
— радиус диффузора громкоговорителя, см; m — масса подвижной
системы громкоговорителя, кг; V Я — объем
ящика, м3.
Приведенное выражение показывает, что основная резонансная частота значительно сильнее зависит от диаметра диффузора, чем от объема ящика. Чем больше объем ящика и меньше диаметр диффузора, тем меньше повышается частота основного резонанса громкоговорителя.
В качестве примера укажем, что у головки с диффузором диаметром 30 см и частотой основного резонанса fгр=18 гц, которая помещена в закрытый ящик объемом Vя = 50 л (0,05 м3 или 50 дм3), частота основного резонанса повышается до fгр=45 гц. Соответственно у головки с диффузором 20 см и f гр = 25 гц, помещенной в ящик объемом Vя = 25 л, частота основного резонанса повышается до f ' гр = 55 гц; у головки с диффузором 14,5 см и f гр =30 гц, помещенной в ящик объемом Vя= 6 л, частота основного резонанса повышается до f'гр = 75 Гц. За рубежом головку с очень низкой частотой основного резонанса (15—25 Гц), установленную в закрытом ящике, часто называют «акустически, подвешенной». Итак, основным условием использования закрытого ящика небольших габаритов при воспроизведении звуков самых низших частот является наличие головки с очень низкой частотой основного резонанса (20—30 гц). Кроме смещения частоты основного резонанса, замкнутый объем воздуха вызывает дополнительные резонансные явления на более высоких частотах. Они увеличивают неравномерность частотной характеристики громкоговорителя. Для устранения дополнительных резонансов, создаваемых воздушным объемом ящика и отражениями, внутренние поверхности ящика покрывают звукопоглощающим материалом. Иногда звукопоглощающим материалом заполняют весь объем ящика.
Из того, что говорилось о закрытом ящике, следует, что его объем связан с диаметром диффузора головки и частотой ее основного резонанса. Головка с диффузором диаметром 25—35 см должна помещаться в закрытый ящик объемом не менее 50 л. Если имеющаяся головка обладает недостаточно низкой частотой основного резонанса, то объем закрытого ящика (Vя), мало сдвигающего частоту основного резонанса, можно определить по формуле:
Vя = 125 · D2диф, см3
где D диф — диаметр диффузора, см.
Если в ящик устанавливают два громкоговорителя, то расчет размеров ящика производят по эквивалентному
диаметру диффузора ![]()
При одинаковых диаметрах диффузоров громкоговорителей D экв = 1.41D диф. Соотношение размеров сторон ящика не имеет значения, однако для глаз приятнее, если эти размеры соответствуют так называемой динамической симметрии.
Принцип динамической симметрии находит свое основное применение в архитектуре и промышленности, выпускающей продукцию, внешний вид которой имеет столь же важное значение, как и остальные ее качества, например мебель. В оформлении различной радиоаппаратуры соблюдение этого принципа также очень существенно. Принцип динамической симметрии состоит в использовании геометрических фигур с определенным соотношением размеров сторон, что обеспечивает привлекательный внешний вид. У прямоугольников принципу динамической симметрии отвечает, в частности, соотношение сторон 1 : √2 (например, ширина 100 см, а длила 141 см) или 1 : √3 (1 : 1,73), или 1 : √4 (1 : 2). Некоторые фигуры, отвечающие принципу динамической симметрии, обладают свойством подобия исходной фигуре, если ее разделить на части. Например, в случае прямоугольников, указанных выше, это произойдет при делении их на 2, 3 и 4 равные части по длине прямоугольника.
В применении к ящикам для громкоговорителя или другой радиоаппаратуры принцип динамической
симметрии может означать, в частности, соотношение размеров их сторон
(глубины, ширины и высоты), как 1 : 1, 41 : 2(
),
а объем такого ящика будет равен меньшей стороне, умноженной на 2 · √2 т.е. 2.82.
Некоторое влияние на частотную характеристику громкоговорителя оказывает внешняя конфигурация ящика вследствие эффекта дифракции (огибание волной препятствия). На рис. 35 приведены иллюстрирующие это влияние частотные характеристики одного и того же громкоговорителя в ящиках различной формы. Из этих частотных характеристик видно, что чем более плавную форму, т. е. более тупые углы, имеет поверхность, прилегающая к громкоговорителю, тем слабее эффект дифракции и тем ровнее частотная характеристика громкоговорителя. Наилучшей для уменьшения дифракции формой поверхности будет сфера. Видимо, это привело к выпуску за рубежом громкоговорителей, оформленных в виде сферы, громкоговоритель (рис.36) французской фирмы «Элипсон» имеет диаметр сферы 40 см, основную головку с диффузором диаметром 21 см, мощность 20 вт, полосу воспроизводимых частот 60—20 000 гц.
Конечно, в домашних условиях изготовить сферу довольно затруднительно, однако возможно использовать старый или поврежденный географический глобус из папье-маше диаметром около 40 см. Такая сфера обладает объемом около 34 л, что позволяет сделать довольно хороший громкоговоритель. На рис. 37 приведена частотная характеристика сферического громкоговорителя диаметром 40 см в радиолюбительском исполнении. В громкоговорителе использована головка 4ГД4-РРЗ с частотой основного резонанса 45 гц; в сфере частота основного резонанса повысилась до 75 гц. Внутренняя поверхность сферы покрыта слоем стекловаты, помещенной в мешок из стеклоткани общей толщиной 12—15 мм.

Рис. 35. Частотные характеристики громкоговорителя в ящиках различной формы (точка обозначает место расположения громкоговорителя).
Фазоинвертор. Весьма значительное распространение получил фазоинвертор, представляющий собой разновидность закрытого ящика; отличие состоит в наличии отверстия на какой-либо стороне ящика; чаще на одной стороне с громкоговорителем. Масса воздуха в отверстии ведет себя подобно диффузору, являясь дополнительным излучателем звука преимущественно на резонансной частоте фазоинвертора, которая делается равной основной резонансной частоте громкоговорителя (или несколько ниже).

Рис. 36. Внешний вид громкоговорителя в сферическом оформлении.

Рис. 37. Частотная характеристика громкоговорителя 4ГД4-РРЗ, установленного в сфере.

Рис. 38. Действие фазоинвертора.
а — частота звука, излучаемого громкоговорителем, выше резонансной частоты фазоинвертора; б — частоты равны; в — частота громкоговорителя ниже резонансной частоты фазоинвертора.
Как происходит излучение звука фазоинвертором, показано на рис. 38. При частотах сигнала выше резонансной частоты фазоинвертора (fс>fф) звуковое давление, создаваемое громкоговорителем, больше, чем создаваемое отверстием фазоинвертора, и они близки по фазе, а поэтому складываются. На резонансной частоте фазоинвертоpa (fc = f ф), если эта частота не равна частоте основного резонанса головки, создаваемое ею звуковое давление значительно меньше, чем от отверстия фазоинвертора, и результирующее звуковое давление определяется, главным образом, изучением фазоинвертора. При частотах сигнала ниже резонансной частоты фазоинвертора (f с<f ф) создаваемое им звуковое давление уменьшается, становясь близким по величине к звуковому давлению от громкоговорителя. Эти давления почти противофазны, поэтому результирующее звуковое давление будет меньше каждого из них.
Таким образом, в фазоинверторе использовано излучение задней стороны диффузора громкоговорителя, что увеличивает отдачу на самых низких частотах. Происходит это потому, что диффузор громкоговорителя связан через упругость воздушного объема ящика с массой воздуха в отверстии, причем в результате такой связи фаза колебании воздуха в отверстии повернута на 180° по отношению к фазе колебаний задней стороны диффузора, т.е. колебания воздуха в отверстии получаются синфазными с колебаниями передней стороны диффузора. Это обстоятельство и послужило основанием назвать такое акустическое оформление фазоинвертором. Гибкость воздушного объема ящика и масса воздуха в отверстии фазоинвертора, зависящая от площади и толщины краев отверстия, образуют резонансную систему (резонатор Гельмгольца), частота которой приближенно выражается уже приводившейся формулой
![]()
где f ф — резонансная частота фазоинвертора, гц; S — площадь отверстия, смг; V — объем ящика, см3.
Из этой формулы видно, что резонансная частота меньше зависит от изменения площади отверстия, чем от объема ящика. Например, изменив площадь отверстия в 16 раз, мы изменим частоту резонанса только в 2 раза. Однако площадь отверстия определяет эффективность фазоинвертора (его отдачу) и должна приблизительно соответствовать эффективной площади диффузора (2,1—2,5R 2 диф) чтобы мощности излучения отверстия и громкоговорителя были соизмеримыми. Так как площадь отверстия фазоинвертора при одной и той же резонансной частоте связана с объемом, необходимо использовать фазоинвертор определенного объема в зависимости от размеров громкоговорителя.
7. ВНЕШНЕЕ (АКУСТИЧЕСКОЕ) ОФОРМЛЕНИЕ ГРОМКОГОВОРИТЕЛЯ (продолжение)

Рис. 39. Частотные характеристики громкоговорителей в фазоинверторах различных объёмов.
1 – объём 238 л; 2 – объём 57 л.
Это подтверждается рис. 39, где показаны частотные характеристики громкоговорителя с диффузором диаметром 25 см и эффективной площадью около 400 см2, установленного, в фазоинверторах, настроенных на одну и ту же частоту 40 гц, но двух различных объемов (57 и 238 л), имеющих отверстия соответственно площадью 28 и 410 см2. Фазоинвертор меньшего объема практически ничего не излучает на своей резонансной частоте, в то время как другой фазоинвертор с площадью отверстия, почти равной площади диффузора, излучает на той же частоте столько же, сколько излучает громкоговоритель на других частотах. Другой иллюстрацией зависимости отдачи фазоинвертора от площади его отверстия могут служить частотные характеристики громкоговорителя с основным резонансом на частоте 30 гц при неизменном объеме ящика фазоинвертора, но различных площадях отверстия (рис. 40).

Рис. 40. Частотные характеристики громкоговорителя в фазоинверторе при различных площадях отверстия.
1 — малая площадь; 2 — средняя; 3 — большая.
Из рисунка видно, что увеличение площади отверстия повышает резонансный пик и, следовательно, отдачу, причем это сопровождается и повышением частоты резонанса. Как показали эксперименты, небольшое влияние на резонансную частоту фазоинвертора оказывает конфигурация прямоугольного отверстия, т. е. отношение его сторон. Резонансная частота при соотношении сторон отверстия oт 2 до 16 повышается на 6—12%. Конфигурация ящика фазоинвертора при отношении его сторон до 1 : 3 не влияет существенно на частоту резонанса. Механико-акустическая система фазоинвертора с громкоговорителем может быть изображена приведенной схемой электрического аналога, представляющей громкоговоритель последовательным колебательным контуром, а фазоинвертор—параллельным контуром, которые соединены последовательно (рис. 41). Здесь тгр, c гр, r гр — параметры подвижной системы громкоговорителя (ее масса, гибкость подвеса, трение подвеса и активная составляющая сопротивления излучения), c ф — гибкость воздуха в ящике, r 'ф, m 'ф — приведенные активная составляющая сопротивления излучения и масса воздуха в отверстии (с учетом соколеблющейся массы воздушной среды). Эта схема позволяет объяснить наличие двух максимумов в частотной характеристике модуля полного сопротивления громкоговорителя с фазоинвертором.

Рис. 41. Схема электрического аналога фазоинвертора.
Предположим, что резонансные частоты громкоговорителя и фазоинвертора одинаковы и равны f ф . Для частот ниже резонансной последовательной контур, соответствующий громкоговорителю, имеет емкостный характер, а параллельный контур, соответствующий фазоинвертору — индуктивный характер. Поэтому оба рассматриваемых контура образуют как бы новый последовательной резонансный контур с частотой резонанса f 2. Для частот выше резонансной характеристика контуров становится обратной: последовательный контур ведет себя как индуктивность, параллельный — как емкость. В результате этого получается второй резонанс нового последовательного контура на частоте f 2 (рис. 42). Фазоинвертор считается правильно настроенным, если в частотной характеристике полного сопротивления оба пика (на частотах f 1 и f 2) имеют приблизительно одинаковую частоту.

Рис. 42. Частотные характеристики полного сопротивления громкоговорителя.
1 — в экране; 2 — в закрытом ящики; 3 — в фазоинверторе.
На рис. 42 приведены частотные характеристики полного электрического сопротивления одного и того же громкоговорителя с диффузором диаметром 18 см, установленным в экране, в фазоинверторе объемом 95 л (64x45x32 см) и в закрытом ящике, которым служит тот же фазоинвертор с закрытым отверстием. Из первой характеристики видно, что основная резонансная частота головки равна 61 гц. В закрытом ящике резонансная частота передвинулась на 82 гц. Частотная характеристика по звуковому давлению этого громкоговорителя в фазоинверторе показана на рис. 43; там же приведена характеристика в закрытом ящике того же объема. Эти характеристики показывают, что правильно сделанный фазоинвертор обеспечивает нижнюю границу частотной характеристики, примерно равную частоте основного резонанса, головки (в данном случае 58 гц), и несколько сглаживает частотную характеристику в области частоты основного резонанса по сравнению с характеристикой громкоговорителя в закрытом ящике. Нижняя граница характеристики последнего приблизительно соответствует новой частоте основного резонанса (70 гц). Правильно сделанный фазоинвертор не только улучшает частотную характеристику звуковоспроизведения в области низших частот, но и способствует уменьшению нелинейных искажений вблизи частоты основного резонанса громкоговорителя и ниже в области резонанса громкоговорителя вследствие значительного возрастания амплитуды смещения звуковой катушки и диффузора начинает сказываться нелинейность их подвеса (центрирующей шайбы, краевого гофра). Поэтому в воспроизводимом сигнале появляются гармонические составляющие, т. е. возрастают нелинейные искажения вследствие значительного акустического сопротивления фазоинвертора при его резонансе амплитуда смещения диффузора уменьшается и звуковое давление создается, главным образом, выходным отверстием фазоинвертора. Так как при этом не происходит нелинейных эффектов (нарушения пропорциональности между смещением диффузора и возбуждающей силой), то звук получается неискаженным. Выше резонансной частоты фазоинвертора воздействие его на громкоговоритель уменьшается, но увеличивается активная составляющая сопротивления излучения громкоговорителя и снижается амплитуда смещения звуковой катушки и поэтому искажения повышаются очень мало.

Рис. 43. Частотные характеристики уровня звукового давления громкоговорителя.
1 — в фазоинверторе; 2 — в закрытом ящике.
На рис. 44 приведены осциллограммы звукового давления тонов различных частот, создаваемых одним и тем же громкоговорителем с основным резонансом на частоте 85 гц при установке его на щите размерами 45x45 см и в фазоинверторе, согласованном с громкоговорителем. Из осциллограмм видно, что нелинейные искажения громкоговорителя с фазоинвертором меньше, чем при установке его на щите.

Рис. 44. Осциллограммы звукового давления, развиваемого громкоговорителем.
1 — в экране размером 45 x 45 см, частота 100 гц; 2 — то же, частота 85 гц; 3 — то же, частота 50 гц; 4 — в фазоинверторе. частота 75 гц; 5 — то же. частота 50 гц.
Таким образом, совмещение резонансных частот громкоговорителя и фазоинвертора, если они лежат в области 30—80 гц, снижает нелинейные искажения: смещение резонанса фазоинвертора немного ниже резонансной частоты громкоговорителя несколько расширяет вниз полосу воспроизводимых частот, не оказывая большого влияния на нелинейные искажения. Только в случае очень низкой (20—30 гц) резонансной частоты громкоговорителя фазоинвертор может быть настроен на более высокую частоту. Поскольку фазоинвертор представляет собой акустическую резонансную систему из гибкости воздуха в объеме ящика фазоинвертора (сф) и массы воздуха в отверстии и соколеблющейся с ним массы воздушной среды (m 'ф), то его резонансная частота будет равна:

Эта формула показывает, что увеличение гибкости воздушного объема и массы воздуха в отверстии снижает резонансную частоту фазоинвертора. Увеличение гибкости может быть достигнуто увеличением объема ящика, увеличение массы — утолщением краев отверстия (длина прохода). Последнее позволяет существенно уменьшить объем ящика и площадь отверстия без повышения резонансной частоты фазоинвертора, что очень важно. Формула для определения частоты резонанса фазоинвертора, содержащая экспериментально установленные поправки на толщину краев отверстия (длину прохода) и соотношение сторон прямоугольного отверстия (при круглом отверстии это отношение равно единице), имеет вид:

где f ф — резонансная частота фазоинвертора, гц; S —площадь отверстия, см2; k — соотношение сторон отверстая; V ф —объем ящика, см3; L — толщина краев отверстия (длина прохода), см. Преобразовав эту формулу относительно объема

можно получить данные о влиянии толщины краев
отверстия на объем ящика при неизменной резонансной частоте. Эти данные, представленные
в виде кривой (рис. 45), показывают, что увеличение длины прохода
до
позволяют
уменьшить вдвое объем ящика. Для удобства расчета объема ящика фазоинвертора в
зависимости от желаемой частоты его резонанса и длины прохода на pис. 46 приводится номограмма,
построенная в соответствии с указанной выше формулой. При этом следует иметь в
виду, что длина прохода не должна превышать 0,1 длины волны, соответствующей
резонансной частоте, т.е.
![]()

Рис. 45. Зависимость объема фазоинвертора от толщины краев отверстия.
Площадь отверстия фазоинвертора может быть выбрана в пределах от величины, равной эффективной площади диффузора (Sэфф=0,63 Dдиф2), до 0,2 этой площади, т.е. 0,2 S эфф .

Рис. 46. Номограмма для расчета объема ящика фазоинвертора.
Если отверстие круглое, то это означает, что его диаметр может быть приблизительно равен от 0,4 до 0,9 полного диаметра диффузора. Может показаться, что эти данные находятся в противоречии с тем, что говорилось в первой части этого раздела о влиянии площади отверстия фазоинвертора на эффективность работы последнего. Однако это противоречие кажущееся: дело в том, что звуковое давление, создаваемое отверстием фазоинвертора, пропорционально колебательной скорости массы воздуха в отверстии; последняя в свою очередь зависит от колебательной скорости диффузора громкоговорителя и размеров отверстия.
Разберем немного подробнее этот вопрос, чтобы лучше понять действие фазоинвертора. Из
схемы аналога фазоинвертора с громкоговорителем (рис. 41) следует, что
отношение колебательных скоростей движения воздуха в отверстии
фазоинвертора (
)
и диффузора (
) равно:
, когда частота сигнала равна резонансной частоте фазоинвертора ωc = ωф.
В этих формулах:
ωф — угловая резонансная частота фазоинвертора

ωc — угловая частота сигнала;
cф — гибкость воздуха в ящике фазоинвертора;
m'ф — сумма массы воздуха в отверстии фазоинвертора и соколеблющейся массы воздуха;
r'ф — активная составляющая сопротивления излучения фазоинвертора и активные потери при колебаниях массы воздуха в отверстии (звукопоглощение).
Заменив в правой части отношения скоростей гибкость воздуха в ящике фазоинвертора ее значением
из выражения для резонансной угловой частоты, равным
, получим, что отношение колебательных
скоростей равно добротности фазоинвертора
![]()
Отсюда v 'О= v Д Q ф т.е. колебательная скорость воздуха в отверстии фазоинвертора и создаваемое им звуковое давление пропорциональны колебательной скорости диффузора и добротности фазоинвертора, определяемой, в частности, массой воздуха в отверстии. Это относится к случаю, когда площади отверстия фазоинвертора и диффузора одинаковы; в тех случаях, когда площади отверстий не равны, в полученное выражение вводится в знаменатель коэффициент n = S Д / S О , учитывающий отношение площадей отверстий. Окончательное выражение для колебательной скорости воздуха в отверстии фазоинвертора будет:
![]()
Последнее выражение показывает, что эффективность фазоинвертора пропорциональна его добротности и обратно пропорциональна отношению площадей отверстий. Однако если даже сделать площадь отверстия фазоинвертора в 4 раза меньшей, чем площадь отверстия для громкоговорителя (n = 4), то нетрудно сохранить неизменной или повысить добротность фазоинвертора, увеличив длину прохода. На практике увеличение длины прохода позволяет уменьшить объем ящика и сохранить достаточную добротность фазоинвертора. Для подтверждения этого на рис. 47 показан внутренний вид (снята задняя крышка) современного двухполосного фазоинвертора объемом около 90 л (78x46x25 см). Диаметр диффузора НЧ головки ранен 32 см, диаметр отверстия фазоинвертора 7 см. длина 10 см.

Рис. 47. Внутренний вид двухполосного фазоинвертора; на внутренних поверхностях видно звукопоглощающее покрытие.
Номограмма (рис. 46) дает возможность определить резонансную частоту этого фазоинвертора; она равна приблизительно 30 гц.
Следует, однако, иметь в виду, что повышенная добротность фазоинвертора ухудшает его переходные характеристики благодаря тому, что собственные колебания большой массы воздуха в отверстии, могут затухать в течение 30—40 мсек после остановки диффузора. Поэтому не нужно стремиться к ящикам с очень малым объемом.
В качестве примера рассчитаем фазоинвертор для громкоговорителя 4ГД4 с диффузором диаметром 18 см и частотой основного резонанса 54 гц. Выбираем круглое отверстие диаметром 8 см и длиной 10 см. Площади отверстия
![]()
Отношение сторон отверстия равно единице. Принимая резонансную частоту фазоинвертора равной частоте основного резонанса, т.е. 54 гц, восстанавливаем на рис. 46 перпендикуляр от отметки горизонтальной шкалы, соответствующей этой частоте, и ведя к нему пунктирную линию, проходящую через данные нашего примера, находим, что объем ящика фазоинвертора должен составлять 30 л. Правильность расчета и изготовления фазоинвертора, а также его согласования с громкоговорителем можно проверить измерением частотной характеристики модуля полного сопротивления громкоговорителя или снятием частотной характеристики звукового давления, развиваемого громкоговорителем в области низших частот (приблизительно до 500 гц). Первый метод проверки проще, так как для него требуется меньшее количество измерительной аппаратуры и не требуется заглушенного помещения. Второй метод несколько сложнее, но он дает более полные сведения, о действии громкоговорителя в фазоинверторе. Уже указывалось, что у правильно настроенного фазоинвертора на частотной характеристике модуля полного сопротивления громкоговорителя оба пика должны иметь приблизительно равную высоту.
Если в результате проверки окажется необходимым произвести перестройку резонансной частоты фазоинвертора, то это удобнее всего сделать изменением длины прохода: удлинение прохода снизит, а укорочение повысит резонансную частоту. В случае фазоинвертора с очень коротким проходом (толщина панели) можно изменить настройку передвигаемой шторкой или поворачиваемым козырьком, при помощи которых изменяют площадь отверстия. Если предполагается перестройка такого фазоинвертора, го отверстие в нем следует сделать на 20—30% больше рассчитанного.

Рис. 48. Конструкции фазоинверторов.
1 — отверстие для громкоговорителя; 2 — отверстие фазоинвертора; 3 — звукопоглощающее покрытие.
Представление о конструкциях фазоинверторов дает рис. 48. Первые две конструкции не нуждаются в пояснениях. В третьей, довольно оригинальной, конструкции излучение звука фазоинвертором осуществляется через единственное отверстие, через которое излучает и передняя поверхность диффузора громкоговорителя, устанавливаемого для этой цели на щите на некотором расстоянии от передней панели фазоинвертора. Расчетным отверстием фазоинвертора является кольцеобразный проход между передней панелью фазоинвертора и щитом, на котором установлен громкоговоритель. Щит необходим не только для образования прохода, но также и для устранения «акустического короткого замыкания» звуков выше резонансной частоты.
Ящик фазоинвертора может быть и не прямоугольной формы. Иногда может оказаться более удобным поместить фазоинвертор в углу помещения; тогда ему придается форма трехгранной призмы.
В фазоинверторе могут быть дополнительно установлены высокочастотные головки. В этом случае он обратится в двухполосный звукоизлучатель.
Если высокочастотные головки не рупорные, а диффузорные, то их следует изолировать от внутреннего объема ящика жестким колпаком (кожухом), чтобы устранить возможность воздействия на них звуковых колебаний основного громкоговорителя в области низших частот. При этом должно учитываться уменьшение объема ящика.
Уменьшение объема особенно существенно при небольших ящиках, объемом до 50 л. В этих случаях следует учитывать и объем; низкочастотной головки и объем прохода вместе с его стенками. Для удобства сообщаем приблизительный объем головок в зависимости от диаметров их диффузоров.
Диаметр диффузора, см |
Объем головки, л |
15 |
2,5 |
20 |
4 |
25 |
6,5 |
30 |
10 |
Если внутренняя поверхность ящика фазоинвертора не покрыта звукопоглощающим материалом, то внутри него на средних частотах может возникнуть интерференция звуковых волн, несколько ухудшающая равномерность частотной характеристики громкоговорителя. Поэтому внутреннюю поверхность фазоинвертора частично покрывают звукопоглощающим материалом (заднюю сторону и одну из боковых сторон).
Акустический лабиринт. Некоторое распространение за рубежом получила конструкция оформления громкоговорителя, называемом акустическим лабиринтом. В ней задняя сторона диффузора сообщается с окружающей средой через волновод в виде сложной трубы прямоугольного сечения, равного или несколько большего, чем площадь диффузора (рис. 49, а). Когда средняя длина трубы равна половине длины волны излучаемой частоты
![]()
наступает резонанс трубы и ее открытый конец (отверстие) излучает синфазно с передней стороной диффузора. При длинах волн которые кратны 0,75 резонансной длины волны, имеет место антирезонанс трубы и снижение звукового давления, создаваемого открытым концом трубы. Если частота основного резонанса громкоговорителя находится на частоте антирезонанса трубы, то это позволяет немного расширить вниз полосу воспроизводимых частот (до 0,75 резонансной частоты громкоговорителя). Для устранения влияния частных резонансов трубы ее стенки должны быть покрыты звукопоглощающим материалом.

Рис. 49. Конструкции акустических лабиринтов.
а — прямоугольной формы; б — радиального громкоговорителя; в — совмещенного с фазоинвертором.
Лабиринт используется и в комнатной конструкции радиального громкоговорителя, как это показано на рис. 49, б. Возможно лабиринт использовать вдвойне, заставив его служить одновременно и как фазоинвертор, резонансная частота которого может быть сделана в 2—3 раза ниже резонансной частоты трубы. Этим удается уменьшить нижнюю границу полосы воспроизводимых частот. На рис. 49, в приведен чертеж такого комбинированного лабиринта с тремя громкоговорителями. Его особенностями являются весьма значительный объем, равный 400 л, и только одна продольная перегородка. Средняя длина трубы 2.44 м, резонансная частота трубы 70 Гц (измеренная 80 Гц) фазоинвертора, имеющего отверстие площадью 135 см2 и проход длиной 15 см, — 28 Гц (измеренная 20 гц). Частота основного резонанса низкочастотной головки 41 Гц.
Рупор. Необходимость в расчете и изготовлении рупора у радиолюбителей встречается очень редко. Потребность в рупоре может возникнуть при изготовлении высокочастотного громкоговорителя — «пищалки» или электромегафона. В обоих случаях расчет и конструирование рупора весьма упрощаются тем, что нижняя пропускаемая частота (fB) обычно выше 500 Гц. Для таких частот коэффициент расширения рупора (β) становится больше 0.2 , т.е. рупор быстро расширяется. Площадь поперечного сечения экспоненциального рупора изменяется по закону:
S = S0eβx
где S — площадь поперечного сечения рупора на расстоянии х от входного (узкого) отверстии; S0 — площадь входного отверстия (при х = 0); β — коэффициент расширения рупора, который можно выразить равенством
![]()
где f Н — нижняя воспроизводимая частота (критическая);
— длина волны, соответствующая f Н ; с — скорость
звука (344 м/сек).
Зная площадь входного (узкого) отверстия рупора S 0, которая выбирается равной 1,5—5 см2, задаются длиной рупора l, формой к размерами выходного отверстия, которые определяют его площадь.
Затем из приведенного выше выражения для площади
,
прологарифмировав
последнее —
и заменив натуральный
логарифм десятичным, находим для выбранных размеров рупора коэффициент
расширения:
или ![]()

Рис. 50. Зависимость коэффициента расширения рупора от низшей воспроизводимой частоты.
Установив величину коэффициента β, можно узнать длину отрезков рупора,
при которых площадь его поперечного сечения удваивается. Это произойдет, когда
в выражении для площади поперечного сечения рупора член
= 2, тогда показатель степени βx = 0.69. Когда коэффициент
расширения установлен, нетрудно определить длину отрезков, через которую
площадь поперечного сечения рупора будет удваиваться (x = 69 / β). Сечение рупора в любом его месте (при
любом х) находится по приведенной выше основной формуле. Можно
расчет рупора провести иначе: по рис. 50 в зависимости от требующейся нижней
воспроизводимой частоты определяют коэффициент расширения рупора и
выбирают площадь входного отверстия S0 и длину рупора ℓ. Затем для этих данных определяют площадь выходного отверстия S и в зависимости от желаемой формы отверстия рассчитывают размеры
его сторон. Образцы применяемых экспоненциальных рупоров различной конфигурации
приведены на рис. 51. Экспоненциальность рупора может обеспечиваться кривизной
(изгибом) как всех сторон рупора, так и части их, т.е. рупор может, например,
иметь две плоские стороны и две изогнутые. Рупор может быть и круглого сечения,
но изготовить его в любительских условиях много сложнее. Рупор можно сделать из
жести толщиной 0,3— 0,5 мм, пропаивая края заготовок, или из пластмассы
толщиной 1,2—1,5 мм, склеив края заготовок эпоксидной смолы или клеем
для выбранной пластмассы.
При изготовлении рупора следует иметь в виду, что воздушный объем между диффузором (диафрагмой) головки и входным отверстием рупора, называемый предрупорной камерой, для лучшего воспроизведения звуков высших частот должен иметь наименьшую высоту. Это означает, что входное отверстие рупора должно находиться ближе к диффузору, но так, чтобы диффузор не касался рупора. Для хорошего воспроизведения звуков высших частот необходим противоинтерференционный вкладыш.

Рис. 51. Экспоненциальные рупоры различной конфигурации.
а – высота входного отверстия; б – ширина выходного отверстия; в – сторона треугольника.
8. ИЗГОТОВЛЕНИЕ АКУСТИЧЕСКОГО ОФОРМЛЕНИЯ И ЕГО ОСОБЕННОСТИ
Демпфирование панелей. Акустическое оформление громкоговорителя, помимо соответствия размеров и формы расчетным данным, должно быть сделано так, чтобы оно не имело щелей и не вибрировали при работе громкоговорителя. Вибрации отдельных элементов оформления (обычно панелей), возникающие на их резонансных частотах, порождают призвуки, искажающие основной сигнал.
Хороший способ уменьшения вибраций панелей акустического оформления, а следовательно, и нежелательного излучения заключается в установке низкочастотного громкоговорителя на мягкой кольцевой прокладке (микропористая иди губчатая резина, пенопласт, резиновая трубка и т. п.); такой способ может снизить уровень вибраций панелей на 15—20 дб. При мягком креплении громкоговорителя необходимо, чтобы крепящие болты не касались непосредственно диффузородержателя, а под их головки и гайки были подложены шайбы из того же мягкого материала. Наиболее трудно виброизолировать от панели тяжелую головку, как, например, 8ГД-1; в этом случае рекомендуется крепить ее с помощью четырех скоб, две из которых прижимают к панели через упругие прокладки нижнее полукольцо диффузородержателя, а две — верхнее. К панели скобы прикрепляются болтами жестко (без прокладок). Можно под нижней кромкой диффузородержателя установить уголок длиной 4— 5 см , приложив между ним и диффузородержателем упругую прокладку; этот уголок примет на себя основную весовую нагрузку громкоговорителя и разгрузит болты, пропущенные сквозь диффузородержатель.
Распространенное средство борьбы с вибрациями панелей — увеличение их жесткости путем применения дополнительных «ребер жесткости» (планок) или утолщения панелей. Однако простое увеличение жесткости лишь повышает резонансные частоты панелей и пеняет характер распределения их вибраций и излучения, так как изменяются число вибрирующих поверхностей и их размеры. Утолщение панелей, кроме того, увеличивает вес и стоимость оформления. Поэтому для изготовления оформления более целесообразно применять материалы, обладающие повышенными внутренними потерями колебательной энергии при их деформации (повышенным «внутренним трением»), а также достаточно высокой упругостью. Такие материалы, называемые вибродемпфирующими или вибропоглощающими, можно нанести на обычные панели.
Вибропоглощающие материалы превращают часть колебательной энергии вибраций в тепло и увеличивают механическое сопротивление панелей, чем понижают амплитуду вибраций. Особенно эффективно вибродемпфирование при резонансных частотах, когда возрастают амплитуды вибраций и деформации на изгиб или сдвиг.
Вибродемпфирующие свойства материала характеризуются коэффициентом потерь или его логарифмическим декрементом затухания (точнее, произведением декремента или коэффициента потерь на модуль упругости). Декремент затухания определяется по осциллографической записи затухающих колебаний пластины из испытуемого материала, которая возбуждается ударом или вибратором. При записи устанавливают величины двух амплитуд затухающего колебания, отстоящих на период, и определяют декремент затухания по формуле
![]()
где A 1 — начальная и А2 — последующая измеренные амплитуды. Если колебания испытываемой пластины затухают медленно, то соседние амплитуды мало отличаются одна от другой. В таких случаях определяют амплитуды, отстоящие на любое число периодов n, а декремент затухания подсчитывают но формуле
![]()
где A 1 — начальная амплитуда; Ап — амплитуда через п периодов.
В качестве примера определим декремент затухания колебаний, изображенных на рис. 12, а. Он будет равен: d = ln (14,5/9) = 2,3 lg 1,61 = 0,47.
Другим распространенным способом определения декремента затухания или коэффициента
потерь, равного
, служит измерение ширины полосы частот
резонансной кривой в герцах на уровне 0,7 от максимума. Поделив ширину полосы
частот на частоту максимума, получают коэффициент потерь
или
.
Практическое представление о декременте затухания панели дают звонкость и длительность ее звучания после того как, держа панель на весу за один угол, ударяют по ней суставом пальца или куском дерева. Длительный звонкий звук, получающийся у металлических панелей, говорит о малом декременте затухания, а короткий, глухой звук указывает на значительные внутренние потери в материале.
Измерение декремента затухания панелей толщиной 6 мм из различных пород дерева показало, что он равен для сосны 0,02 , для бука—0,03 , для фанеры—0,04. Хорошим вибропоглощающим свойством обладают древесно-волокнистые плиты, имеющие декремент затухания около 0,08 , и древеспостружечные плиты, декремент которых 0,06. Для сравнения укажем, что декремент стали равен 10-3 — 10-6, а алюминия в 3 раза больше. Хорошими вибропоглощающими свойствами обладают слоистые напели, составленные из двух слоев тонкой (3—6 мм) фанеры, между которыми помешен слой резины поролона, войлока или изола толщиной 1—3 мм или стеклоткани толщиной 0,25—0,5 мм, В такой конструкции материалы при вибрациях испытывают сдвиговые деформации, при которых внутренние потери в них получаются большими, чем когда они нанесены на одной стороне панели и испытывают изгибные деформации.
Указанные слои лучше всею склеивать между собой клеем № 88, причем если применяется войлок, то можно использовать вместо клея нитрокраску, но ее или клей следует наносить только на фанеру, так как войлок интенсивно их впитывает; это относится и к другим материалам, кроме резины и изола. Очень высоким вибродемпфирующим свойством обладает сухой песок, которым иногда рекомендуют засыпать пространство между двумя панелями из тонкой фанеры или пластмассы.
Используя древесно-волокнистые и древесно-стружечные плиты, можно оклеить их наружные поверхности тонкой фанерой ценных пород дерева.
Самым простым и дешевым средством получения достаточного декремента затухания панелей акустического оформления, изготовленных из любого материала, вплоть до алюминия или стали, следует считать нанесение на них покрытия, обладающего повышенными внутренними потерями. Хорошим вибропоглощающим покрытием может служить кровельный материал рубероид, представляющий собой пористый картон, пропитанный битумом. Рубероид выпускается свернутым в рулоны (16 м длины при 1 м ширины). Толщина слоя рубероида 1,2—1,5 мм, декремент затухания 0,4, модуль упругости 25*104 н/см3. Рубероид наклеивают двумя — тремя слоями на панель резиновым клеем или клеем № 88.
Более хорошим вибропоглощающим покрытием является синтетический линолеум (пластик) без подложки из мешковины. Такой линолеум выпускается в рулонах или плитках толщиной 1,5—3,0 мм; его декремент затухания равен 0,7—0,9; модуль упругости 15*104 —30*104 н/см2; удельный вес 1,6—1,9. Линолеум может быть наклеен клеем для линолеума или клеем № 88.
Для нанесения на криволинейные поверхности более удобны противошумовые мистики № 579 и 580, употребляемые в автомобильной промышленности. Эти мастики, изготовленные на битумной основе, наносят на панель жесткой кистью или лопаточкой. Затвердевают они при комнатной температуре. Декремент затухания мастик приблизительно 0,7 , а модуль упругости — около 25*103. н/см2. Мастичное покрытие делают толщиной 3—6 мм, причем наносить его нужно слоями в несколько приемов, чтобы каждый слой успел отвердеть. Применяя вибропоглощающее покрытие, следует учитывать, что степень демпфирования вибраций или декремент затухания панели с покрытием пропорциональны его толщине, т.е. чем толще покрытие, тем больше демпфирование. Совершенно достаточно нанести покрытие, толщина которого равна 0,4—0,5 толщины демпфируемой панели.
Если между демпфируемой панелью и вибропоглощающим покрытием поместить слой достаточно жесткого пористого материала (слой пенопласта толщиной 6—12 мм), то отнесение вибропоглощающего покрытия от демпфируемой панели увеличит его деформацию (растяжение и сжатие) при вибрациях. Результатом возросших деформаций вибропоглощающего материала будет увеличение колебательной энергии вибраций, обращаемой в тепло, т.е. демпфирование увеличится. Применение промежуточного слоя позволяет снизить толщину вибропоглощающего покрытия (приблизительно 1 мм на 5 мм прослойки) без ухудшения его демпфирующих свойств.
Промежуточный слой может быть не сплошным, а иметь пропуски, составляющие 20—30% всей площади панели, что позволяет, сохранив демпфирующие свойства, делать промежуточный слой из многих кусков материала. Для получения ровной поверхности и надежного склеивания с рубероидом или линолеумом (пластиком) куски промежуточного материала должны быть одинаковой толщины.
Применение а панелях акустического оформления внбропоглощающего покрытия приводит к увеличению общей жесткости панели, а поэтому представляется возможным в 1,5—2 раза снизить толщину панелей без опасения увеличения их вибраций. Следует иметь в виду, что для вибропоглощающего покрытия не пригодны резина или войлок, потому что они, имея удовлетворительный декремент затухания (0,3—0,6), обладают невысоким модулем упругости (3*103 —20*103 н/см2).
Заметим, что нанесение вибропоглощающих покрытий может быть полезным не только в акустическом оформлении громкоговорителей, но и во многих других случаях борьбы с вибрациями, например для ослабления вибраций панели проигрывателя с электродвигателем и звукоснимателем.
Звукопоглощающее покрытие, применяемое в акустическом оформлении, обязательно должно быть пористым. Механизм действия такого покрытия состоит в том, что звуковые волны, проникая, в поры материала (капиллярные каналы), рассеивают (теряют) свою звуковую энергию благодаря вязкому трению в узких каналах и теплообмену между воздухом в порах и стенками этих пор (каналов). Чем толще покрытие, тем больше его коэффициент звукопоглощения.
В качестве звукопоглощающего материала для акустического оформления лучше всего применять волокнистые и пористые материалы, такие, как войлок и фильц, минеральная, стеклянная, капроновая или хлопчатобумажная вата, а также хлопчатобумажные очесы и другие подобные отходы. Толщина звукопоглощающего покрытия из войлока должна быть не менее 0,8—1,0 см и из ваты—не менее 2—3 см.
Для того чтобы нанести поглотитель из ваты на внутренние поверхности ящика, необходимо предварительно сделать из нее заготовки (маты). Для их изготовления берут куски картона, размеры которых должны соответствовать внутренним поверхностям ящика, и раскладывают на них слой ваты желаемой толщины. Поверх слоя ваты кладут марлю или какую-нибудь другую неплотную (редкую) ткань, после чего этот трехслойный пакет прошивают (простегивают) в нескольких местах суровой ниткой. Можно простегать вату между двумя слоями марли или еще лучше стеклоткани. Изготовленные таким способом пакеты прикрепляют к панелям внутри ящика небольшими шурупами или гвоздями так, чтобы картон был обращен к стенкам, а вата — внутрь ящика. При работе со стеклотканью, стеклянной или минеральной ватой следует надевать перчатки во избежание болезненных и опасных заноз и порезов.
В последнее время наша промышленность стала выпускать новый пористый эластичный материал — пенополиуретан (поролон), который продается в виде ковриков, губок и т. п. Этот материал, как показали измерения, обладает неплохими звукопоглощающими свойствами. Пенополиуретановые коврики толщиной 2—5 см удобно применять в качестве звукопоглощающего покрытия в акустическом оформлении громкоговорителей. Для повышения звукопоглощающих свойств таких ковриков полезно в течение короткого времени походить по ним. В результате этого пористость ковриков увеличивается вследствие механического разрыва пленочек, открывающих дополнительные капилляры.
Звукопоглощающее покрытие наносят на большую часть внутренней поверхности закрытого ящика или фазоинвертора. Если материала недостаточно, то лучше им покрывать противоположную громкоговорителю сторону ящика и углы.
В качестве жесткого звукопоглощающего материала можно использовать древесно-волокнистые плиты, применяемые для теплоизоляции толщиной 1,5—2,5 см, имеющие пористую структуру. Для этой цели древесно-волокнистые плиты прикрепляют в один - дна слоя (в зависимости от их толщины) к внутренним поверхностям ящика или располагают на обеих боковых сторонах ящика перпендикулярно им, в виде гребенки из трех — пяти листов. Ширина гребенок может быть различной и должна составлять 0,25—0,4 ширины ящика, а расстояние между ними—10—15 см. Звукопоглощающие гребенки могут быть прикреплены перпендикулярно к дну или крышке ящика.
Простым и дешевым звукопоглотителем для акустического оформления громкоговорителей может служить полужесткий древесно-волокнистый материал. Он представляет собой литые формы для упаковки яиц. Размер стороны такой формы 31 см , высота 5 см , а толщина самого материала приблизительно 1,5 мм . Эти формы нужно сложить (одну в другую) по пять — восемь штук в пакет общей высотой около 8 см и прикрепить к внутренним поверхностям ящика. Если почему-либо окажется трудно достать необходимое количество форм, то число их в пакете можно уменьшить до трех-четырех штук и проложить между ними вату или очесы. Применяя любой звукопоглотитель надо иметь в виду, что, если звукопоглотитель расположить не непосредственно на стенках ящика, а с отнесением на 2—5 см от стенок, то звукопоглощение несколько увеличивается за счет воздушного промежутка между поглотителем и стенками.
Для изготовления акустического оформления необходимо иметь столярные навыки. Соединять панели на шипах в домашних условиях трудно. Сделать чистое шиповое соединение панелей из древесно-волокнистого материала и панелей, покрытых вибропоглощающим слоем, вообще невозможно. Подходящим в домашних условиях способом можно считать соединения панелей при помощи деревянных брусков и деревянных или металлических уголков (рис. 52). Рекомендуется предварительно приклеить к панелям металлические уголки клеем № 88, синтетическим клеем завода «Аэрозоль» или эпоксидной смолой, а деревянные бруски или уголки — казеиновым или столярным клеем или любым клеем, указанным для металлических уголков. Чтобы облегчить завинчивание шурупов, рекомендуется предварительно просверлить для них отверстия сверлом, диаметр которого равен приблизительно половине диаметра шурупа.

Рис. 52. Способы соединения стенок ящика.
Наиболее трудной и ответственной является отделка внешних поверхностей ящика, поскольку они определяют его общий вид фанерование ценными породами дерева и последующая полировка поверхностей придают оформлению привлекательный вид. К сожалению, такую отделку могут позволить себе немногие, так как она требует, помимо соответствующих материалов, высокой квалификации. Поэтому если имеется возможность лучше использовать фанерованные древесно-волокнистые плиты. Довольно привлекательный вид имеют древесно-стружечные плиты, покрытые лаком для паркетных полов.
Другой способ отделки ящика заключается в покрытии его поверхности декоративной тканью, которую натягивают на покрываемую поверхность и обрамляют декоративными рейками или багетом. На тех поверхностях, где нет громкоговорителей, вместо декоративной ткани можно натягивать цветную хлорвиниловую пленку и текстовинил подходящего цвета и рисунка. Можно также использовать любую тонкую ткань, цветную бумагу или обои соответствующего рисунка, защитив их прозрачной полиэтиленовой или хлорвиниловой пленкой. Внешний вид нескольких образцов конструкций и отделок ящиков показан на рис. 53. Удачным внешним оформлением громкоговорителя является книжная полка, продающаяся в мебельных магазинах. Эта полка имеет размеры 105x32x23 см; внутренний объем полки составляет 61 дм3. Для ее использования необходимо заменить две стеклянные створки деревянной панелью. Такая полка может быть установлена как вертикально — колонкой, так и горизонтально. В последнем варианте ее удобно устанавливать на полу на трех - четырех круглых ножках длиной около 37 см , которые берутся вместе с металлическим креплением от табуретки (рис. 54).
Акустическое оформление необходимо рассчитывать только для низкочастотных или широкополосных громкоговорителей. Высокочастотные и среднечастотные громкоговорители не требуют для своей работы такого оформления. Однако для эффективной работы всех, звеньев акустической системы необходимо выполнить определенные условия по установке и оформлению высокочастотных и среднечастотных громкоговорителей. Диаметр отверстия для головки должен быть равен полному диаметру диффузора, включающему гофры (подвес). Если размер отверстия сделать меньше, то в частотной характеристике звукового давления возникнут нежелательные резонансные пики и провалы.

Рис. 53. Различные конструкции акустического оформления громкоговорителей.

Рис. 54. Ящик громкоговорителя.
Если громкоговоритель, предназначенный для воспроизведения достаточно высоких частот, устанавливается в отверстии, сделанном в толстой стенке (20—30 мм), то воспроизведение высших частот ухудшится, так как перед диффузором образуется объем воздуха, увеличивающий эффективную массу подвижной системы. В этом случае следует увеличить отверстие до диаметра диффузородержателя и прикрепить громкоговоритель к наружной стороне панели с помощью дополнительного кольца из металла или пластмассы.
Диффузор громкоговорителя желательно защитить от возможного внешнего механического повреждения, прикрыв отверстие (под декоративной тканью) металлической или пластмассовой сеткой со стороной ячейки 3—8 мм. Очень удобны для этой цели полиэтиленовые решетки с ячейками размером 22x25 мм, предназначенные для мытья посуды. Если готовой сетки нет, ее можно сделать самому из капроновой лески толщиной 0,6—0,8 мм, которую натягивают без переплетения на гвоздиках, прибитых вокруг отверстия.
Значительное влияние на частотную характеристику громкоговорителя оказывают всякого рода облицовочные и декоративные элементы. Плотная ткань ухудшает воспроизведение звуков и низких и высоких частот. Толстые решетки и жалюзи могут иногда вызвать резонансные явления, и в частотной характеристике громкоговорителя появятся дополнительные пики и провалы. Поэтому, наружное оформление следует применять весьма осторожно и не вводить излишних усложнений. Диффузорные среднечастотная или высокочастотная головки, работающие в общем оформлении с низкочастотной головкой, должны быть сзади закрыты кожухом из плотного или упаковочного картона (с гофрированной прослойкой), фанеры, пластмассы или металла. Для этой цели можно подобрать соответствующую по размеру круглую или прямоугольную пластмассовую или картонную фабричную коробку или алюминиевую кастрюльку. Такой кожух устраняет воздействие на высокочастотную головку излучения задней стороны диффузора низкочастотной головки, о котором говорилось выше. Свободное пространство внутри кожуха следует заполнить ватой или другими пористыми или волокнистыми материалами.
При выборе и установке кожухов для головок следует обратить внимание на недопустимость щелей или отверстий как в самом кожухе, так и между ними и панелью Можно использовать для заделки щелей пластилин или проложить между краями кожуха и панелью прокладки из губчатой резины. Все диффузорные громкоговорители, устанавливаемые в любом ящике, рекомендуется обернуть одним - двумя слоями марли для зашиты магнитного зазора от загрязнения пылью и особенно железными опилками.
9. ДВУХ- И ТРЕХПОЛОСНЫЕ СИСТЕМЫ ГРОМКОГОВОРИТЕЛЕЙ
Двух- и трехполосные системы громкоговорителей (агрегаты) дают возможность воспроизводить более широкую полосу частот со значительно меньшими частотными и нелинейными искажениями, чем это могли бы сделать широкополосные громкоговорители. К этому надо добавить, что двух- и трехполосные системы обеспечивают улучшение акустических показателей звуковоспроизводящего звена более дешевым образом, ибо широкополосная головка всегда будет стоить много дороже узкополосных. Разделение полного диапазона частот на две и три частотных полосы показано на рис. 55. Видны нижняя (fн) и верхняя (fв) границы воспроизводимой полосы частот и частоты раздела (fР, fP1 и fP2).

Рис. 55. Условное разделение воспроизводимой полосы частот при двухполосной и трехполосной акустических системах
( f н и f в — соответственно низшая и высшая граничные частоты; fp , fpl и f р2 — частоты разделения).
Приведенные характеристики представляют собой уровни напряжения на выходе соответствующих
разделительных фильтров. Более дорогой является трехполосная система, она
способна обеспечить воспроизведение более широкой полосы частот (особенно
вниз) и с лучшей равномерностью частотной характеристики. Дпухполосные системы
получили более широкое распространение. Выбор числа полос следует производить
на основе акустических данных имеющихся в наличии головок и требований к
неравномерности частотной характеристики системы. Частоты раздела выбирают,
исходя из условий получения лучшей частотной характеристики системы
(агрегата), т.е. меньших частотных искажений. Это определяется частотными
характеристиками головок. Известно также, что частотные искажения
громкоговорителя минимальны до критической частоты диффузора
, после
которой он перестает колебаться, как поршень. Некоторое влияние на выбор
частоты раздела могут оказать запасы мощностей у имеющихся головок. Кривые
требующегося соотношения мощностей головок, приведенные на рис. 32, показывают,
что при повышении частоты раздела, высокочастотная головка разгружается и
увеличивается нагрузка низкочастотной головки. В некоторых случаях не рекомендуют
частоту раздела выбирать между 1—4 кгц, так как это может несколько
ухудшить слуховые ощущения из-за возможной заметности двух источников звука,
работающих одновременно на частоте раздела, которая в этом случае была бы в
области наибольшей чувствительности нашего слуха. Снижение частоты раздела
уменьшает, кроме того, и интермодуляционные искажения. Таким образом, наиболее
подходящими частотами раздела могут быть частоты, лежащие в области 400—800 гц
и 4—5 кгц. Простейшим способом создания двухполосного агрегата
является подключение одной или двух высокочастотных головок через
разделительный конденсатор к имеющемуся громкоговорителю.
Большинство диффузорных громкоговорителей мощностью 6— 10 ватт хорошо работают в диапазоне низших и средних частот, т.е. воспроизводят довольно широкую полосу частот. Большинство наиболее мощных наших громкоговорителей (5ГД-3РР3, 6ГД-1, 8ГД-РР3, 10ГД-28 и др.) имеют частоту основного резонанса в лучшем случае 45—50 гц (очень редко 42—40 гц), а снижение отдачи на высших частотах начинается с 5—6 кгц. Таким образом, рабочая полоса, в которой эффективней могут работать эти громкоговорители, простирается от 40—45 гц до 5 кгц. Для воспроизведения области частот выше 5 кгц должны применяться дополнительные небольшие громкоговорители, рассчитанные на воспроизведение полосы до 16— 20 кгц (например, 1ГД-1РР3, 1ГД-2, 1ГД-3). Частота раздела при указанных выше мощных головках должна быть около 5 кгц.

Рис. 56. Схемы присоединения громкоговорителей, воспроизводящих верхнюю полосу частот (условно показано по одной головке в каждой полосе).
а — при приблизительно равном сопротивлении громкоговорителей; б — при
различном сопротивлении; в — то же, но с отдельными трансформаторами в каждой полосе.
На рис. 56 показаны возможные схемы присоединения дополнительных высокочастотных головок. Мощность этих головок при такой частоте раздела может быть менее 0,1 от мощности основного громкоговорителя. Присоединение дополнительных головок не нарушит согласования нагрузки с выходным каскадом и даже улучшив его, так как на высших частотах растет полное сопротивление основного громкоговорителя и нагрузка усилителя падает.
Схема на рис. 56. а предназначена для присоединения высокочастотной головки, полное сопротивление которой приблизительно равно полному сопротивлению основного громкоговорителя. Схемы (рис, 56, б, в) позволяют применять громкоговорители со значительно отличающимися полными сопротивлениями. Согласование нагрузки достигается или с помощью отводов в выходном трансформатор или отдельным трансформатором (автотрансформатором). Технически легче сделать два хороших выходных трансформатора, работающих каждый в узкой полосе частот, чем один высококачественный широкополосный. Это особенно важно при более мощном усилителе.
В этих схемах условно показано по одной головке в каждой полосе, тогда как в действительности могут быть подключены две головки и более. Конечно, все головки должны быть правильно сфазированы и должно быть учтено их общее сопротивление. Емкость разделительного конденсатора определяется частотой раздела и модулем полного сопротивления высокочастотной головки. На частоте раздела емкостное сопротивление конденсатора должно равняться модулю полного сопротивления головки, т. е.
![]()
где f Р — частота раздела; |ZГР| — модуль полного сопротивления головки на частоте раздела.

Рис. 57. Основные схемы разделительных фильтров.

Рис. 58. График для расчета величины разделительной емкости Cв схемах на рис. 56 и емкости С1, в схемах на рис. 57, а, б.
Разделительный конденсатор, емкость которого рассчитана по этой формуле, дает затухание перед частотой раздела в 6 дб на октаву (0,5 fР).
Простейшим фильтром, при помощи которого к низкочастотной головке подводится напряжение только низших частот, а к высокочастотной головке — только высших частот, являются схемы, приведенные на рис. 57, а,б. Они рассчитаны на головки с одинаковым полным сопротивлением и имеют одинаковое входное сопротивление, равное полному сопротивлению одной головки, несмотря на то, что в первой схеме головки соединены последовательно, а во второй — параллельно. Емкость конденсатора и индуктивность дросселя определяются из условия, что их емкостное или индуктивное сопротивление равно на частоте раздела полному сопротивлению головки, поэтому к каждой головке будет приложена половина выходной мощности усилителя; таким образом,
![]()
Отсюда легко получаются расчётные формулы

Формула для расчета емкости конденсатора получилась одинаковой с формулой для расчета емкости разделительного конденсатора высокочастотной головки, что совершенно закономерно, так как они отвечают одинаковым условиям.
Для удобства расчета фильтра на рис. 58 приведены кривые, позволяющие определить значения емкости и индуктивности в зависимости от модуля полного сопротивления головки для двух частот раздела.
Описанный фильтр дает затухание вблизи частоты раздела 6 дб на октаву (0,5 fp и 2 fp ). Однако предпочтительнее фильтры, обладающие более крутым срезом частотной характеристики затухания вблизи частоты раздела, т. е. большим затуханием на октаву. Это желательно для сокращения области частот, в которой одновременно работают (излучают) и низкочастотные и высокочастотные головки. Такие фильтры имеют схемы, приведенные на рис. 57, в, г: они дают затухание около 12 дб на октаву и также рассчитаны на головки с одинаковыми полными сопротивлениями. Входное сопротивление фильтров равно полному сопротивлению одной головки; условие расчета этих фильтров то же, что и у предыдущих: на частоте раздела подводимая мощность делится поровну между головками. В этом случае в последовательной схеме (рис. 57, в) емкость и индуктивность определяются формулами
![]()
а в параллельной схеме (рис. 57, г)
![]()
До сих пор говорилось о фильтрах, рассчитанных на головки с одинаковым полным сопротивлением (в своих полосах частот). Очень часто используют головки с разным входным сопротивлением.
Если сопротивления звуковых катушек громкоговорителей различны, их следует уравнять с помощью согласующего трансформатора. Такой трансформатор (или автотрансформатор) лучше применять для высокочастотной группы и в зависимости от соотношения сопротивления звуковых катушек использовать либо на повышение (если сопротивление НЧ группы меньше), либо на понижение. Его коэффициент трансформации вычисляют по формуле

где |ZH| и |Z В| — модули полных сопротивлений низкочастотной и высокочастотной головок.

Рис. 59. Схема присоединения громкоговорителей с разными сопротивлениями через фильтры нижних и верхних частот.

Рис. 60. Схема для расчета коэффициентов трансформации.
Когда такое уравнение полных сопротивлений головок почему-либо невозможно, то можно подключить громкоговорители к разным отводам выходного трансформатора так, как это показано на рис. 59 (для случая, когда |ZН| меньше, чем |ZВ|). При этом номиналы элементов разделительных фильтров рассчитываются, как для обычных простых фильтров нижних и верхних частот;
![]()
Здесь может быть уместно привести формулу для расчета коэффициента трансформации каждой отдельной обмотки или отдельного трансформатора (рис. 60, а), учитывающего как полные сопротивления разных головок, так и их номинальные мощности:

где ω1 и ω2 — число витков первичной и вторичной обмоток; P У — мощность усилителя; ZH — сопротивление нагрузки усилителя; P ГР — мощность громкоговорителя; Z ГР — полное сопротивление громкоговорителя (среднее значение).
Правильность рассчитанных коэффициентов трансформации можно проверить подсчетом общего сопротивления нагрузки по формуле

(R должно быть равно |ZH|).
У фабричных выходных трансформаторов, имеющих отводы для включения разных сопротивлений нагрузки (громкоговорителя), обычно обозначают выводы, как показано на рис. 60, б. Но эти же отводы позволяют присоединить нагрузку иного сопротивления на отдельные части обмотки. Определить сопротивление этих нагрузок для верхней секции и подобным же образом для остальных можно по формуле
![]()
Перейдем к расчету трехполосных систем. Несмотря на то, что приведенные выше расчетные формулы относятся к двухполосным системам, ценная особенность фильтров, схемы которых изображены на рис. 57, в, г, состоит в том, что их входное сопротивление равно полному сопротивлению головки и позволяет успешно использовать такие фильтры и в трехполосной схеме. Единственным условием является то, чтобы все три головки имели одинаковые сопротивления в своих полосах частот. Схема фильтров для трехполосной системы показана па рис. 61, а. Она содержит две пары фильтров параллельного включения, соответствующих схеме на рис. 57, г. Первую пару фильтров ( L 2 и С2) рассчитывают по приведенным выше формулам для более низкой частоты раздела (f Р1) и к одному из них (низкочастотному) присоединяют низкочастотную головку. Вторую пару фильтров присоединяют к высокочастотному фильтру первой ступени, пропускающему сигналы с частотами выше частоты раздела. Эту пару фильтров (L '2 и С'2) рассчитывают по тем же формулам, что и первую пару, но для более высокой частоты раздела (f Р2). Таким образом, вторая пара фильтров делит область частот, находящуюся выше первой частоты раздела (f Р1), на две полосы с частотой раздела f Р2 между ними. Не представляет трудностей составить такую же систему из двух пар фильтров последовательного включения, которые рассчитывают аналогичным образом, но по формулам, относящимся к схеме на рис. 57, в; такая схема представлена на рис. 61, б. Она может представить интерес только тем, что в ней нужны другие значения емкостей конденсаторов и индуктивностей дросселей, которые можно легче купить или сделать, чем те, которые требуются для параллельных схем.

Рис. 61. Схема включения фильтров в трехполосной системе громкоговорителей.

Рис. 62. Упрощенные схемы фильтров для трехполосной системы громкоговорителей,
а — с разделительным конденсатором; б — с последовательным контуром L 3 C 3 .
Имеется более простой вариант схемы включения громкоговорителей в трехполосной системе. Он показан на рис. 62, а. Здесь применяется двухполосный фильтр с более низкой частотой раздела, а высокочастотная головка подключена к фильтру второй полосы с помощью разделительного конденсатора C 3 . Эта схема содержит только два полосовых фильтра и конденсатор вместо двух пар полосовых фильтров, описанных выше. Однако, строго говоря, схема на рис. 62 является двухполосной, к которой добавлена высокочастотная головка. В результате этого на высших частотах могут излучать как высокочастотная головка, так и среднечастотный громкоговоритель, что может увеличить неравномерность частотной характеристики в этой области частот. Поэтому более эффективной следует считать схему с фильтрами, разделяющими весь диапазон па три полосы. Существует еще одна разновидность трехполосной системы, когда к двухполосной системе подключают дополнительный громкоговоритель последовательно с простым последовательным контуром. Такая схема показана на рис. 62, б. Этой схемой можно компенсировать провалы в частотной характеристике громкоговорителя основной двухполосной системы. Иногда небольшой подъем отдачи и области средних частот (не более 8—10 дб), создаваемый дополнительным громкоговорителем, значительно улучшает качество звуковоспроизведения: лучше распознаются отдельные инструменты оркестра. Это особенно заметно при сравнении звучания с акустическим агрегатом, у которого снижена отдача на средних частотах, даже если такое понижение не выходит из допусков.
Конденсатор и катушку индуктивности для полосового фильтра, которые включают последовательно с головкой, воспроизводящей средние частоты или компенсируют какой-либо провал в характеристике (рис. 62, б), рассчитывают довольно просто. Из курса радиотехники известно, что для последовательного контура (LC) существуют следующие соотношения:
и
,
где ωPE3 — угловая резонансная частота, гц; Z К — характеристическое сопротивление контура, которому по отдельности равняются емкостное и индуктивное сопротивления конденсатора и дросселя при резонансной частоте, т.е.
![]()
Полагая величину ZK равной полному сопротивлению, которое имеет на частоте коррекции дополнительный громкоговоритель (ZК=ZДОП), включаемый через последовательный контур, можно подсчитать нужные величины емкости конденсатора C 3 и индуктивности дросселя L 3
![]()
Следует иметь в виду, что ширину частотной области, в которой излучает дополнительная головка, можно расширить, уменьшив величину индуктивности L3, как это следует из формулы
![]()
откуда
![]()
Здесь Δf — ширина резонансной кривой па высоте 0.7 от максимума, гц; L3 — индуктивность, гн; R ГР — активное сопротивление головки, ом.
В связи с этим при желании расширить полосу частот, воспроизводимых дополнительной головкой, следует уменьшить индуктивность L 3 против расчетной величины и во столько же раз увеличить емкость C 3.
Такой метод коррекции частотной характеристики звукового давления громкоговорителя может быть успешно использован и для улучшения воспроизведения низших частот в этом случае дополнительный корректирующий громкоговоритель используют, главным образом, в области его основной резонансной частоты, на которую и рассчитывают последовательный контур, т. е.
![]()
Если дополнительный громкоговоритель аналогичен основному и отличается частотой основного резонанса не более чем на ±10 гц, то при установке его вблизи основного (рядом) получится повышение уровня на 3 дб и улучшится согласование нагрузки с усилителем, так как на частоте основного резонанса входное сопротивление громкоговорителя возрастает в 3—5 раз. Индуктивность дросселя и емкость конденсатора рассчитывают по вышеприведенным формулам для последовательного контура L 3 C 3 . Однако ввиду того, что резонансная частота контура соответствует частоте механического резонанса громкоговорителя, индуктивность по расчету получится значительной. Рекомендуется уменьшить ее в 2—4 раза, увеличив во столько же раз емкость конденсатора.
Следует объяснить, почему от всех разделительных фильтров требуется, чтобы на частоте раздела они делили поровну мощность между головками, работающими в соседних полосах, т. е. снижали уровень напряжения на каждой головке на 3 дб. Эта величина выбрана потому, что, как будет показано дальше, сложение двух одинаковых уровней, создаваемых двумя источниками звука, повышает общий уровень на 3 дб. Следовательно, снижение фильтрами на частоте раздела напряжения на головках (а также и звукового давления) приводит в результате сложения к последующему выравниванию общего звукового давления, конечно, если они включены синфазно и отдача обоих головок на частоте раздела одинакова. Однако, к сожалению, чаще имеет место различие в среднем стандартном звуковом давлении, создаваемом различными головками.
В связи с таким положением рекомендуется средне- и высокочастотную головки присоединять к разделительным фильтрам через низкоомный ступенчатый аттенюатор с 3—5 ступенями регулировки, как это показано на рис. 63. Важной особенностью аттенюатора является постоянство его входного сопротивления. Оно может быть сделано равным полному сопротивлению головки, на которое рассчитан разделительный фильтр. Каждая ступень регулировки должна давать снижение уровня (затухание) порядка 2 дб, что соответствует уменьшению напряжения (и звукового давления) примерно на 20%, т.е. до 0,8 от исходной величины. Сопротивление последовательного (r 1) к параллельного (r 2) резисторов находят по формулам
и ![]()
где Z ГР — полное сопротивление головки; k — коэффициент передачи аттенюатора; мы выбрали для первой ступени k=0,8. При определении сопротивлений резисторов для второй и далее ступеней регулировки следует по рис. 1 определить значение k , которое для второй ступени, создающей общее затухание 4 дб, будет k=0,63, для третьей (6 дб) k=0,5 и т. д. Надо также иметь в виду, что сопротивления последовательного и параллельных резисторов могут создаваться либо отдельными резисторами независимо друг от друга, как это показано на рис. 63, б, либо с использованием резисторов предыдущей ступени (рис. 63, в). Во втором варианте необходимо, рассчитав сопротивления резисторов для данного затухания, отнять от рассчитанной величины сумму сопротивлений резисторов, включенных между нулевым контактом и предыдущим тому, для которого ведется расчет (при этом расчет сопротивления r2 ведут, начиная с максимального затухания). Иначе говоря, вычитанием определяется то сопротивление, которое надо добавить к уже подсчитанным, чтобы получить сопротивление, соответствующее данному затуханию. Для удобства определения сопротивления резисторов r 1 и r2 в зависимости от полного сопротивления громкоговорителя для разных затуханий и при условии равенства входного сопротивления аттенюатора и полного сопротивления головки (rАТТ = ZГР) на рис. 64 приведены расчетные графики.

Рис. 63. Схемы включения аттенюатора.
а — принципиальная; б, в — практические варианты.
Конденсаторы во всех приведенных схемах разделения частот и разделительных фильтрах желательно иметь бумажные. Их номинальное рабочее напряжение может быть выбрано минимальным. Можно применять электролитические конденсаторы, но из-за отсутствия в цепи постоянной составляющей необходимо взять два таких конденсатора, каждый вдвое большей емкости, и соединить их последовательно одинаковой полярностью. Такое включение конденсаторов называется биполярным, и оно иногда используется (например, в радиоле "Симфония") наряду со специальными типами биполярных электролитических конденсаторов. Можно специально создать схему с вспомогательным источником постоянного напряжения для поляризации электролитических конденсаторов. Однако выпускается достаточный ассортимент необходимых типов и величин бумажных конденсаторов сравнительно небольших размеров для рабочего напряжения 120—160 в, например типа МБГО. Их габариты к тому же не имеют существенного значения при размещении в ящике громкоговорителя. Дроссели для схем разделительных фильтров лучше применять без стального сердечника, так как всегда имеется опасность появления дополнительных нелинейных искажений вследствие нелинейности кривой намагничивания сердечника. Лучше применять в качестве дросселей простые многослойные катушки без сердечников.
Для уменьшения потерь звуковой энергии намотку дросселей, включаемых последовательно с громкоговорителями, следует выполнять достаточно толстым эмалированным проводом, чтобы активное сопротивление обмотки было в 10—20 раз меньше, чем сопротивление всех громкоговорителей, работающих в данной полосе частот. Индуктивность многослойной катушки, изображенной на рис. 65, может быть подсчитана по формуле
![]()
где w — число витков; D — средний диаметр катушки, см; В — ширина намотки, см; А — высота намотки, см.

Рис. 64. Графики для расчета сопротивлений аттенюатора.
Если принять конфигурацию катушки такой, что d = A , A = 1,2 B , а D =2 A =2,4 B, то формула для индуктивности и расчет дросселя сильно упрощается:
![]()
Расчет дросселя ведется следующим образом: задаемся сопротивлением обмотки r др(r др =0,05/0,1 R ГР) и шириной катушки B . Площадь сечения обмотки принятой конфигурации будет S 0=AB=1,2 B 2, a объем обмотки V 0=S 0 3,14 D=9 B 3. Определяем с помощью приведенной здесь табл. 2 число витков и сопротивление обмотки для подсчитанных S 0 и V 0 и какого-либо выбранного диаметра провода и сопоставляем сопротивление с требующимся, а по укладывающемуся числу витков обмотки подсчитываем индуктивность.
Таблица 2
Диаметр по меди |
Число плотно намотанных витков на 1 см2 сечения обмотки |
Сопротивление кубического сантиметра непрерывной намотки, ом |
0,4 |
446 |
0,668 |
0,5 |
292 |
0,28 |
0,6 |
206 |
0,137 |
0,7 |
155 |
0,076 |
0,8 |
118 |
0,0444 |
0,9 |
95 |
0,0284 |
1,0 |
78 |
0,0189 |
1,1 |
65 |
0,013 |
1,2 |
55 |
0,00924 |
1,3 |
47 |
0,00678 |

Рис. 65. Конфигурация катушки дросселя разделительного фильтра.
Если рассчитанные индуктивность и сопротивление катушки оказываются меньше требующихся, тогда проделывают то же самое для меньшего диаметра провода. Если сопротивление обмотки увеличивать нельзя, то, сохраняя прежний диаметр провода, увеличивают размеры катушки, т. е. B, и тем самым возможное число витков. Обычно дроссели делают бескаркасными, т. е. обмотка наматывается на болванке со съемными щеками, которые по окончании намотки удаляются, а обмотка для прочности стягивается лентой или ниткой в 4—5 местах по окружности.
Рассчитаем в качестве примера дроссель индуктивностью 30 мгн, сопротивлением 2,5—3,5 ом и шириной обмотки B=3 см. Площадь сечения обмотки равна S 0=1,2 В2=10,8 см2; объем обмотки равен Vo=9B 3=243 см3. Находим с помощью таблицы, что из провода диаметром 1 мм обмотка будет иметь сопротивление 4,6 ом и количество витков 840. По формуле подсчитываем индуктивность.
Она будет равна:
.
Так как сопротивление получилось завышенным, а индуктивность близкой, увеличим немного размеры катушки (примем B = 3,4 см) и диаметр провода (примем 1,2 мм). Новая площадь сечения обмотки и ее объем равны S 0=13,9 см2; Vo=352 см3. Находим по таблице, что обмотка будет иметь 765 витков и сопротивление 3,25 ом; ее индуктивность составит L=32 мгн. Дроссель с такими индуктивностью и сопротивлением удовлетворяет заданию.
10. ФАЗИРОВКА, СОЕДИНЕНИЕ ГРОМКОГОВОРИТЕЛЕЙ
Фазировка. Уже указывалось, что если совместно работают несколько головок, то они обязательно должны быть сфазиронаны, т. е. так соединены между собой, чтобы излучать звук в одинаковой фазе. Это относится и к головкам, работающим в разных полосах частот, особенно при низкой частоте раздела, так как на частоте раздела одновременно работают головки обеих смежных полос. Фазировка осуществляется визуально или «наощупь» пальцем с помощью батареи напряжением 1,5—4,5 в, которую несколько раз присоединяют к выводам звуковой катушки громкоговорителя. Переключая полярность батареи, добиваются того, чтобы все диффузоры при включении (или отключении) батареи двигались в одну сторону. Затем, отметив полярность включения выводов звуковых катушек, соответственно подсоединяют их: одноименными полюсами при параллельном соединении и разноименными— при последовательном.
Более удобно, особенно при малых высокочастотных головках, осуществлять фазировку с помощью миллиамперметра постоянного тока (шкала 5—10 ма).Подключив его к звуковой катушке, слегка и плавно нажимают пальцами на диффузор и замечают, в какую сторону отклонится стрелка миллиамперметра. Переключая концы звуковой катушки, добиваются отклонения стрелки в одну сторону и отмечают полярность на контактах громкоговорителя в соответствии с полярностью миллиамперметра. Указанная фазировка должна сохраняться и между группами громкоговорителей, работающими в разных полосах и соединенными через разделительные емкости или фильтры.
Правильность фазировки можно проверить и на слух, пробуя переключать концы звуковой катушки одного из громкоговорителей во время прослушивания какой-либо передачи. При неправильном включении громкость на низших частотах заметно уменьшается. Такой способ пригоден только при сдваивании громкоговорителей. При большем их количестве фазировка на слух становится трудной и их нужно разбить на пары.
Проверять на слух фазировку следует так, чтобы переключение концов осуществлялось очень быстро. Это дает возможность сравнивать звучания практически без участия звуковой памяти. Для проведения таких экспериментов и сравнительной оценки звучания разных громкоговорителей и агрегатов удобно пользоваться переключателем или тумблером. При изменении фазировки головок, работающих в разных полосах при высокой частоте раздела, часто не наблюдается различия в характере звучания, а иногда даже лучшее звучание бывает при противофазном включении. Поэтому следует оставить такое включение, которое большинству слушателей при многократном прослушивании покажется наилучшим. Согласно ГОСТ 9010-67 громкоговорители должны иметь обозначение полярности; это избавит от необходимости фазировки.
Сложение звуковых уровней двух громкоговорителей. Иногда с целью повышения уровня звучания в помещении к уже имеющемуся громкоговорителю добавляют еще один. Представляет интерес выяснить, каково будет изменение общего звукового уровня в помещении.
Пусть интенсивность звука, создаваемая на некотором расстоянии первым громкоговорителем, I 1 , а интенсивность, создаваемая на таком же расстоянии вторым громкоговорителем, I2. Отношение этих интенсивностей n = I 2 / I 1 .
Изменение уровня интенсивности звука против исходного уровня, создаваемого одним громкоговорителем
![]()
Таким образом если добавляется второй громкоговоритель с одинаковой интенсивностью звука, т. е. п=1, то увеличение уровня будет равно:
![]()
На рис. 66 приведен график для определения увеличения общего уровня интенсивности звука N, обусловленного добавлением второго громкоговорителя, в зависимости от соотношения уровней интенсивности звука, создаваемых каждым из громкоговорителей (N2 —N1). Из этого графика видно, что не имеет смысла добавлять второй громкоговоритель с интенсивностью звука меньше первого уже на 3 дб (n=0,5).

Рис. 66. Зависимость общего уровня звучания от разницы в уровнях между имеющимся и добавочными громкоговорителями.

Рис. 67. Зависимость сопротивления излучения от числа рядом расположенных синфазных излучателей, их радиуса и излучаемой частоты.
а — один излучатель; б — два; в — три; г — четыре излучателя.
Гораздо чаще применяют дополнительный однотипный громкоговоритель, помещаемый рядом с основным в общем оформлении с целью улучшения частотной характеристики звукового давления и повышения отдачи на низших частотах.
Включение двух громкоговорителей выравнивает общую частотную характеристику системы.
Происходит это потому, что в разных экземплярах громкоговорителей, даже одного
и того же типа, частотные характеристики неодинаковы. Подъемы (пики) и провалы
чувствительности оказываются несколько сдвинутыми по частоте и потому частично
взаимно компенсируются. Повышение отдачи происходит потому, что благодаря
взаимному влиянию рядом расположенных и синфазно работающих громкоговорителей
увеличивается сопротивление излучения каждого громкоговорителя. Это видно из
рис.67, на котором показано увеличение сопротивления излучения одного
громкоговорителя в зависимости от отношения радиуса его диффузора к длине волны
излучаемого звука (
) для одной, двух и трех дополнительных
однотипных головок. Приведенные кривые указывают, что возрастание сопротивления
излучения происходит только в области низших и части средних частот (до примерно
, что при диффузоре с R ДИФ=12 см соответствует
425 гц). На самых низких частотах благодаря этому эффекту отдача
двух громкоговорителей почти удваивается: две головки (с вдвое возросшим
сопротивлением излучения каждая) в 4 раза увеличивают звуковое давление, в то
время как потребляемая от усилителя мощность становится немного больше
удвоенной. Синфазное включение головок может быть достигнуто последовательным
или параллельным соединением их звуковых катушек. Выше было установлено, что
на электрическое демпфирование способ соединения не оказывает большого влияния.
Не оказывает он влияния и на частотную характеристику, если усилитель имеет
низкое выходное (внутреннее) сопротивление, обусловленное отрицательной
обратной связью. В таких случаях вопрос о параллельном или последовательном
соединении звуковых катушек головок должен решаться только из соображений
удобства согласования с усилителем и разделительными фильтрами. Однако могут
встретиться случаи, когда выходное сопротивление усилителя недостаточно мало
(это может быть в переносной и малогабаритной аппаратуре). Тогда способ соединения
головок может оказать некоторое влияние на частотную характеристику
громкоговорителя в области частоты основного резонанса. Дело в том, что если
головки имеют различные частоты основного резонанса (f 1 и f 2), отличающиеся на 20—30
гц, то при параллельном соединении благодаря взаимной связи цепей обе
резонансные частоты сольются в одну

При последовательном соединении этого не происходит и разнесение резонансных частот способствует расширению области низших частот с подъемом отдачи.
Так как знание выходного сопротивления усилителя полезно для оценки условий демпфирования громкоговорителя, то сообщаем, как его измерить. Для определения выходного сопротивления на вход усилителя подается небольшой (10 —20% номинального) синусоидальный сигнал какой-либо частоты от звукового генератора, измерительной граммпластинки или от осветительной сети через понижающий трансформатор и измеряют выходное напряжение усилителя при отключенной нагрузке (громкоговорителе). Затем нагружают усилитель известным резистором, близким по сопротивлению к номинальной нагрузке, и измеряют напряжение на нем. После этого выходное (внутреннее) сопротивление усилителя подсчитывают по формуле
![]()
где U ХХ — выходное напряжение усилителя без нагрузки; U Н — выходное напряжение на нагрузке R Н.
Выходное сопротивление хорошего усилителя не должно быть больше чем 0,1 R Н .
Распределенная система громкоговорителей. Акустические свойства помещения сильно влияют на качество звуковоспроизведения. Так как помещения, в которых воспроизводится звук, могут обладать плохой акустикой (большие и гулкие или низкие, вытянутой формы), то полезно знать, что распределенная система громкоговорителей позволяет осуществить успешную звукофикацию таких акустически плохих помещений. Рассредоточенное размещение одинаковых громкоговорителей по озвучиваемой площади при такой системе обеспечивает хорошую равномерность звукового поля и отсутствие ощущения локализованного положения источника звука, что создает впечатление звучания всего объема (пространства). Эта система может применяться и для озвучивания открытого пространства. При распределенной системе громкоговорители обычно размещаются в виде линейной цепочки, шаг которой равен 0,5—1 высоте подвеса громкоговорителей в закрытом помещении и 5—8 высотам подвеса на открытом пространстве. В последнем случае громкоговорители должны иметь малую направленность излучения в горизонтальной плоскости: этому условию удовлетворяют радиальные громкоговорители, например, типов 10ГДН-1 и ДГР-25. Хорошая равномерность звукового поля при распределенной системе затрудняет возникновение акустической обратной связи при звукоусилении. Примером успешной реализации распределенной системы громкоговорителей является озвученная территория ВДНХ в Москве.
11. ПРОВЕРКА ГРОМКОГОВОРИТЕЛЕЙ
Проверка акустических систем и отдельных громкоговорителей осуществляется объективным методом с помощью измерительного микрофона и субъективным методом («на слух»), который, однако, весьма эффективен. При наличии измерительного конденсаторного микрофона (МИК-6с, МК-5 или МК-6 отечественного производства или 4131, 4433 датской фирмы «Брюэль и Кьер») с усилителем, вольтметра и осциллографа, а также звукового генератора можно измерить частотную характеристику громкоговорителя по звуковому давлению. Можно проверить и наличие нелинейных искажений. К сожалению, весьма немногие имеют возможность воспользоваться указанными приборами. Гораздо легче измерить частотную характеристику напряжения на головках, работающих в разных полосах частот, и это следует сделать. Еще проще измерить полное сопротивление головки, и этим также надо воспользоваться для того, чтобы правильно выбрать коэффициент трансформации трансформатора выходного каскада усилителя низкой частоты, а при работе нескольких громкоговорителей согласовать их между собой, а также с разделительными фильтрами (при двух- или трехполосной системах). По частотной характеристике полного электрического сопротивления громкоговорителя можно точно определить основную резонансную частоту подвижной системы и качество ее подвеса; правильность настройки фазоинвертора также указывается частотной характеристикой полного сопротивления.

Рис. 68. Схема измерения полного сопротивления громкоговорителя
ЗГ—звуковой генератор; Гр — исследуемый громкоговоритель; V — вольтметр; r — дополнительный балластный резистор; R — магазин сопротивлений или отдельный резистор известного сопротивления.
Полное сопротивление измеряют в рабочем диапазоне частот каждой головки при подведении к громкоговорителю небольшого (около 0,5—1 в) напряжения от генератора звуковой частоты ЗГ или от звукоснимателя, проигрывающего измерительную граммпластинку. Измерения проводят по схеме на рис. 68 или методом замещения, когда магазином сопротивлений R устанавливают равные показания вольтметра в обоих положениях переключателя (тогда модуль полного сопротивления равен сопротивлению магазина), или с помощью закона Ома. В этом случае включают дополнительный резистор r, сопротивление которого в 25—30 раз больше, чем модуль полного сопротивления измеряемого громкоговорителя (обычно r=150 / 250 ом, мощность 2—3 вт). Магазин сопротивлений заменяют резистором R, величина которого должна быть известна и близка к предполагаемому полному сопротивлению громкоговорителя R ГР . Измерив вольтметром напряжение UR на этом сопротивлении, а затем на громкоговорителе U ГР , определяют его полное сопротивление при данной частоте по формуле
![]()
Изобразив результаты измерений в виде частотной характеристики (рис. 7), можно узнать частоту собственного резонанса по положению пика. Определить резонансную частоту подвижной системы громкоговорителя можно также с помощью любого электронного осциллоскопа. Осциллоскопом можно фиксировать сдвиг фаз между током через звуковую катушку и напряжением на ней. При наличии фазового сдвига на экране трубки наблюдается наклонный эллипс. С уменьшением угла сдвига фаз эллипс сужается и при отсутствии сдвига превращается в прямую линию, угол наклона и длина которой могут изменяться по сравнению с длиной и наклоном эллипса. Переход эллипса в прямую линию указывает на наступление резонанса.
Схема включения звуковой катушки любого громкоговорителя для определения резонансной частоты по сдвигу фаз показана на рис. 69. Выводы громкоговорителя Гр подключают к выходу достаточно мощного (не менее 2—3 вт) звукового генератора ЗГ через резистор г сопротивлением 200—300 ом, напряжение с которого подается на пластины горизонтального отклонения. Напряжение со звуковой катушки подается на пластины вертикального отклонения. При таком включении выход звукового генератора не должен быть заземлен, а горизонтальная развертка в осциллоскопе должна быть отключена.

Рис. 69. Определение резонансных частот по сдвигу фаз.
а — схема присоединения громкоговорителя к электронному осциллографу; б — образцы фигур на экране осциллографа для разных точек частотной характеристики полного сопротивления громкоговорителя на щите; в — то же, в фазоинверторе.
На рис. 69 приводятся типовые частотные характеристика полного сопротивления громкоговорителя в ящике и в фазоинверторе и указываются вероятные фигуры на экране осциллоскопа для разных точек этих характеристик. При измерении полного сопротивления головки или определении по осциллоскопу частоты ее основного резонанса следует головку положить магнитной системой вниз.

Рис. 70. Схемы для отключения высокочастотной (положение 2) или среднечастотной (положение 3) головок, содержащие регуляторы уровней.
Если положить ее вниз диффузором, то воздушный объем под диффузором существенно изменит измеряемые параметры головки.
Проверка акустической системы «на слух» состоит в прослушивании какого-либо оркестрового произведения или произведения, исполняемого на рояле, когда легче всего заметить искажения. При прослушивании устанавливают, достаточно ли хорошо воспроизводятся звуки низших и высших частот, а также убеждаются в отсутствии нелинейных искажений, проявляющихся дребезжанием и хрипами при наибольших, но допустимых уровнях интенсивности звука. Проверка эффективности работы головок в разных частотных полосах несколько облегчается возможностью отключения высокочастотной головки и замены ее среднечастотной, как это показано, например, на схеме рис. 70. Здесь в первом положении сдвоенного переключателя включены все три головки. Во втором положении отключается высокочастотная головка и ее функции «возлагаются» на среднечастотную головку, на которую подается напряжение и средних и высших частот (лежащих выше первой частоты раздела). В третьем положении переключателя отключается среднечастотная головка и работают только низкочастотная и высокочастотная, последняя в области частот выше второй частоты раздела; в этом положении воспроизводятся звуки только низших и высших частот. Если частотно-амплитудную характеристику усилителя вместе с разделительными фильтрами, т.е. напряжение непосредственно на звуковых катушках громкоговорителей, не удалось измерить, то помощь проверке может оказать прослушивание громкоговорителей при питании их через разделительные фильтры от звукового генератора.
Нелинейные искажения создаются как выходным каскадом усилителя, так и громкоговорителем, причем они обычно увеличиваются с возрастанием громкости. Опасность появления искажений увеличивается в том случае, если мощность усилителя превышает мощность громкоговорителя. Чтобы определить, где создаются нелинейные искажения — в усилителе или громкоговорителе, поступают следующим образом. Выход усилителя нагружают потенциометром, сопротивлением равным номинальному сопротивлению нагрузки усилителя или близко к нему, а мощность, которую рассеивает потенциометр без перегрева, должна быть равна максимальной выходной мощности усилителя (или быть несколько больше ее). Громкоговоритель включают между движком и одним из концов потенциометра (лучше тем, который соединен с корпусом). Движком потенциометра устанавливают пониженную громкость при входном напряжении усилителя, соответствующем его максимальной мощности. Если звучание будет искаженным, то поскольку с усилителя снимается полная мощность, а громкоговоритель недогружен, наиболее вероятным виновником искажений является усилитель. Если же передача будет неискаженной, то, очевидно, искажения, замеченные при прослушивании установки, создавались громкоговорителем из-за его перегрузки или плохой центровки звуковой катушки. Причину нелинейных искажений, создаваемых усилителем, следует искать в оконечном и предоконечном каскадах.
Радикальным средством проверки и установления неисправности элемента звуковоспроизводящей установки является замена подозреваемого звена заведомо хорошим. Таким образом, предполагая неисправность громкоговорителей, следует заменить их и прослушать работу установки с хорошим громкоговорителем.
Выше была установлена необходимость использования головок с возможно более низкой частотой основного резонанса. Представляется полезным сообщить порядок работы по снижению резонансной частоты у громкоговорителей старых выпусков. Эту частоту можно снизить, уменьшив жесткость крепления подвижной системы, т. е. увеличив гибкость центрирующего диска и подвеса диффузора. Прежде всего отклеивают или отрезают (по кольцу диффузородержателя) воротник диффузора. Затем отпаивают гибкие выводы звуковой катушки и отвинчивают кольцо центрирующего диска (если таковое имеется) пли отклеивают диск от диффузородержателя. Увеличение гибкости центрирующего диска с гофрами осуществляют прорезанием трех-четырех конусообразных вырезов, расположенных равномерно по окружности; до прорезания намечают по картонному шаблону контуры отверстий. Их общая площадь должна составлять 0,4—0,5 площади гофров центрирующего диска. Сделав вырезы, иа них или на весь диск наклеивают клеем БФ-6 марлю для защиты магнитного зазора от пыли. После этого обрезают у диффузора часть краевого гофра, чтобы между ним и кольцом диффузородержателя был промежуток около 15 мм. Если при этом на краю диффузора остался гофр, то его расправляют на длине около 10 мм, чтобы к нему приклеить подвес, который делается в виде дужек из павинола или текстовинила. Для вырезания этих дужек также следует заготовить картонный шаблон; желательно иметь только четыре дужки, чтобы каждая дужка покрывала четверть длины окружности диффузора. На дужках и на краю диффузора помечают карандашом поверхности, которыми они должны быть склеены. После этого последовательно намазывают дужки клеем № 88 (диффузор не надо) и приклеивают их к отмеченному краю диффузора. Приклеив подвес к диффузору, устанавливают последний в диффузородержатель, чтобы звуковая катушка вошла в зазор. Затем укрепляют кольцо центрирующего диска и осуществляют предварительную центровку звуковой катушки (до приклейки подвеса). Потом поочередно приклеивают клеем № 88 к кольцу диффузородержателя дужки подвеса диффузора, намазывая клеем намеченные места. Для отгибания дужек перед намазыванием клеем удобно использовать зажимы "крокодил" с вставленными в них штепсельными вилочками (для веса). После приклейки подвеса окончательно центрируют звуковую катушку и закрепляют кольцо центрирующего диска. Если центрирующий диск не имеет металлического кольца и был отклеен, тогда вначале приклеивают подвес диффузора, а затем центрирующий диск (одновременно с центровкой звуковой катушки в зазоре). Затем припаиваются выводы звуковой катушки и приклеиваются опорные дужки из картона или войлока на диффузородержателе. Описанным способом удается снизить частоту основного резонанса головки в 1,5—2 раза. Если диффузор имеет трещину (разрыв), то ее лучше всего заклеить клеем-герметиком «Эластосил» или в несколько приемов залить обычным резиновым клеем. В заключение укажем, что повысить жесткость диффузора вблизи звуковой катушки и тем улучшить воспроизведение высших частот можно, покрыв поверхность диффузора радиусом около 5—7 см от звуковой катушки клеем КТ-30 или МСН-7, разведенным в бензоле или толуоле; после высыхания этот клей обладает твердостью порядка 0,9 твердости стекла.
ЛИТЕРАТУРА
1. Бабуркин В. Н., Гензель Г.С, Павлов Н. Н., Электроакустика и радиовещание, изд-во «Связь», 1967.
2. Иофе В. К., Электроакустика, Связьиздат, 1954.
3. Красильников В. А. Звуковые волны, Гостехиздат,
4. Фурдуев В. В., Акустические основы вешания, Связьиздат 1960
5. Болотников И. М., Кинотеатральные громкоговорители, изд-во «Искусство», 1957.
6. Шифман Д. X., Громкоговорители, изд-во «Энергия», 1965.
7. Беранек Л., Акустические измерения, Изд-во иностр.лит., 1952.
13. ПРИЛОЖЕНИЯ




